EasyManua.ls Logo

Whirlpool DU900PCDB4 - Page 3

Whirlpool DU900PCDB4
9 pages
Print Icon
To Next Page IconTo Next Page
To Next Page IconTo Next Page
To Previous Page IconTo Previous Page
To Previous Page IconTo Previous Page
Loading...
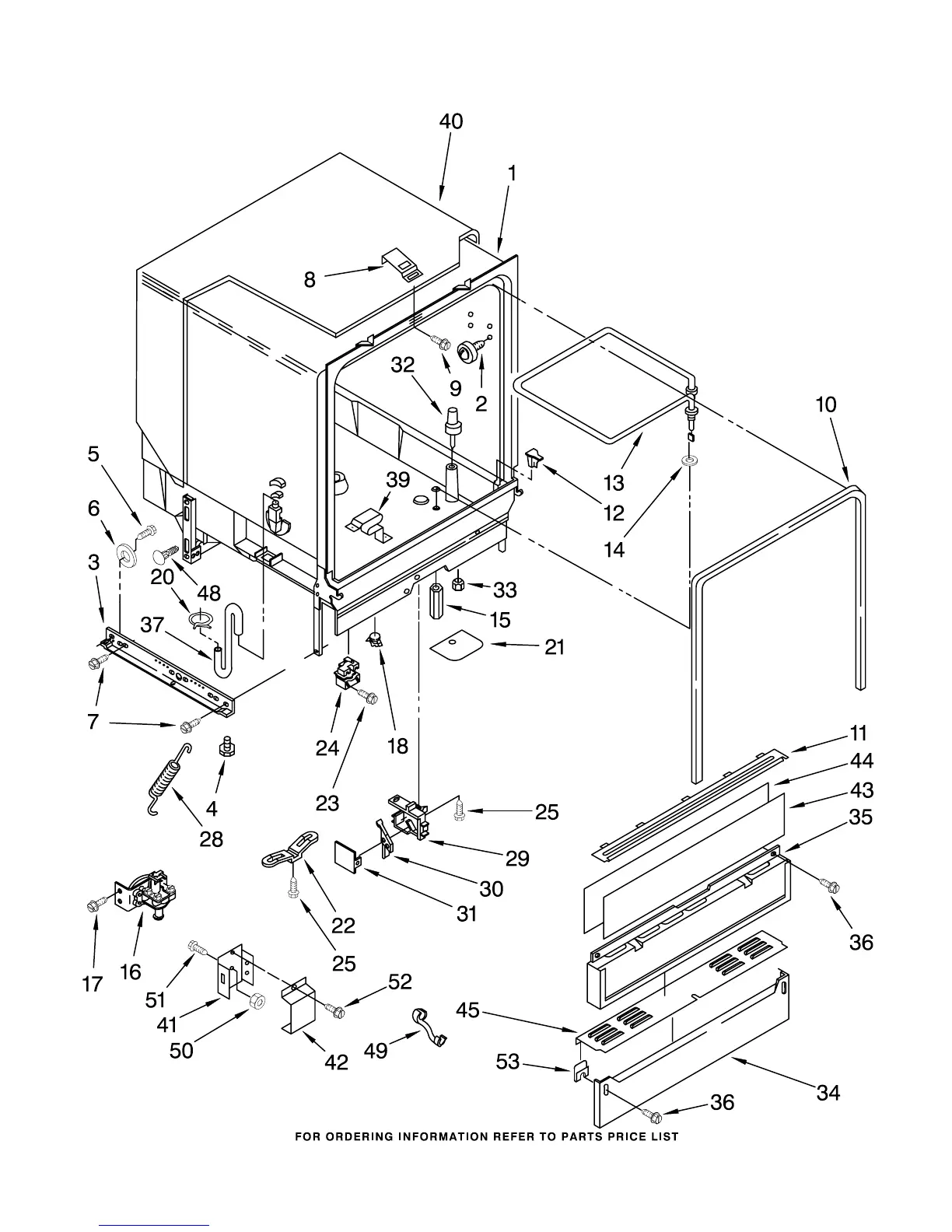
TUB ASSEMBLY PARTS
3
870509
For Model: DU900PCDB4 ,DU900PCDQ4, DU900PCDZ4
Black, Designer White, Designer Almond

Related product manuals