EasyManua.ls Logo

Whirlpool LBR5432PT2 - Machine Base Parts

Whirlpool LBR5432PT2
14 pages
Print Icon
To Next Page IconTo Next Page
To Next Page IconTo Next Page
To Previous Page IconTo Previous Page
To Previous Page IconTo Previous Page
Loading...
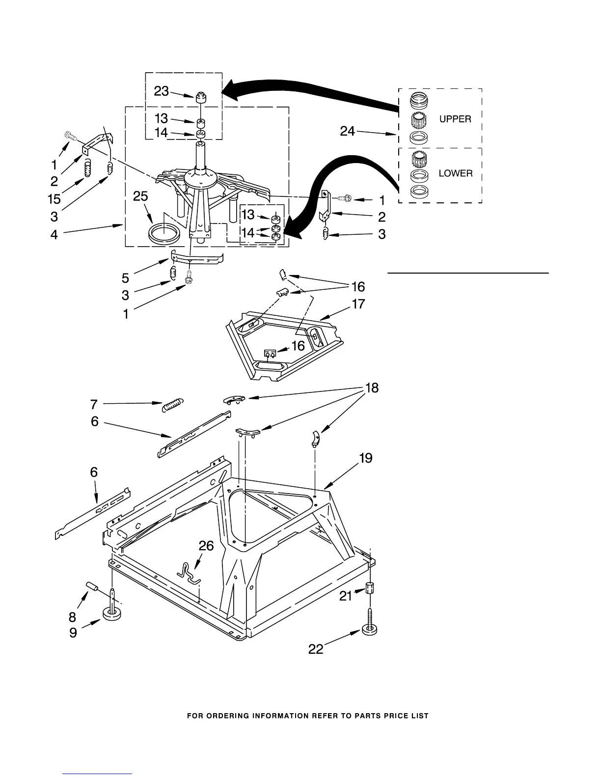
MACHINE BASE PARTS
8
For Models: LBR5432PQ2, LBR5432PT2
(Designer White) (Biscuit)
8180897
Illus. Part
No. No. DESCRIPTION
1 3400076 Screw, Bracket
Mounting
(10−32 x 5/8)
2 64067 Bracket, Spring
Outer (2)
3 63907 Spring (3)
4 8575214 Support & Brake,
Tub
5 64065 Bracket, Spring
Outer (L.F.)
6 63138 Link, Leveling
Mechanism (2)
7 62597 Spring, Leveling
Mechanism
8 62837 Pin, Knurled
9 62596 Foot, Rear (2)
13 3347047 Bearing,
Centerpost (2)
14 357409 Seal, Centerpost (3)
15 388492 Spring,
Counterweight
16 62568 Pad, Plate
17 3946509 Plate, Suspension
(Includes Item 16)
18 3363660 Pad, Base
19 3349337 Base Assembly
(Includes Items 6,
7, 8, 9, 18 & 26)
21 3359452 Nut, Lock (2)
(3/8−16)
22 389102 Foot, Front (2)
23 8577376 Seal, Centerpost
24 285203 Centerpost
Bearing Kit
(Includes Items
13, 14 & 23)
25 63134 Ring, Sound
Deadening
26 63806 Retainer,
Suspension Spring

Related product manuals