EasyManua.ls Logo

Whirlpool LTE5243DQ3 - Page 2

Whirlpool LTE5243DQ3
18 pages
Print Icon
To Next Page IconTo Next Page
To Next Page IconTo Next Page
To Previous Page IconTo Previous Page
To Previous Page IconTo Previous Page
Loading...
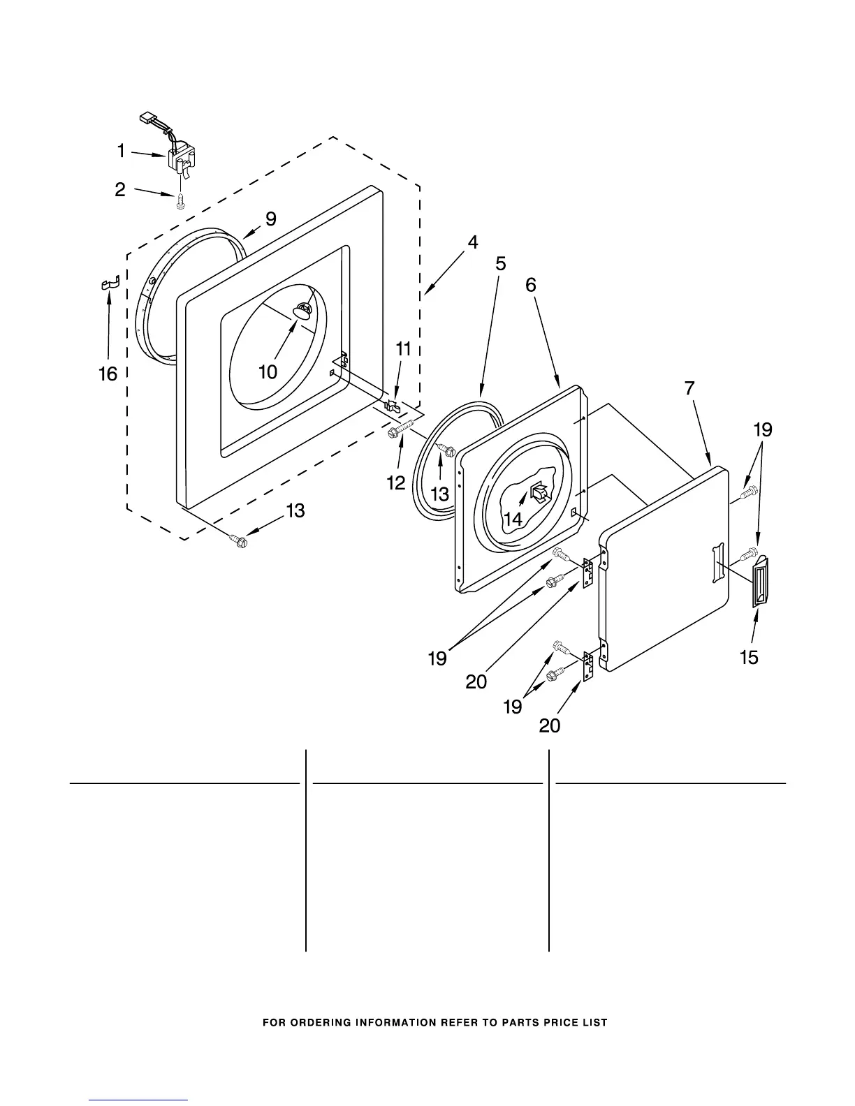
DRYER FRONT PANEL AND DOOR PARTS
2
For Models: LTE5243DQ3, LTE5243DT3
(Designer White) (Biscuit)
4377944
Illus. Part
No. No. DESCRIPTION
Illus. Part
No. No. DESCRIPTION
Illus. Part
No. No. DESCRIPTION
1 3406108 Door Switch
2 697773 Screw, 6−20 x 7/8
4 Panel, Front
692619 White
3978587 Biscuit
5 3390734 Seal, Door
6 695656 Door, Rear
7 Door, Front
348205 White
3978598 Biscuit
9 8066123 Bearing & Seal
10 685203 Clip, Felt
Pad (2)
11 696144 Strike, Panel
12 3390663 Screw, Door
Switch
Mounting (2)
13 343641 Screw,
10−16 x 1/2 (2)
(Front Panel
To Side Panel)
14 3389441 Catch, Door
15 Handle, Door
686711 White
3978592 Biscuit
16 692846 Support Protector
19 694091 Screw, Door
Mount To
Hinge & Panel (10)
20 348023 Hinge & Pin,
Door (2)

Related product manuals