EasyManua.ls Logo

Whirlpool TU800SPPB1 - Page 4

Whirlpool TU800SPPB1
7 pages
Print Icon
To Next Page IconTo Next Page
To Next Page IconTo Next Page
To Previous Page IconTo Previous Page
To Previous Page IconTo Previous Page
Loading...
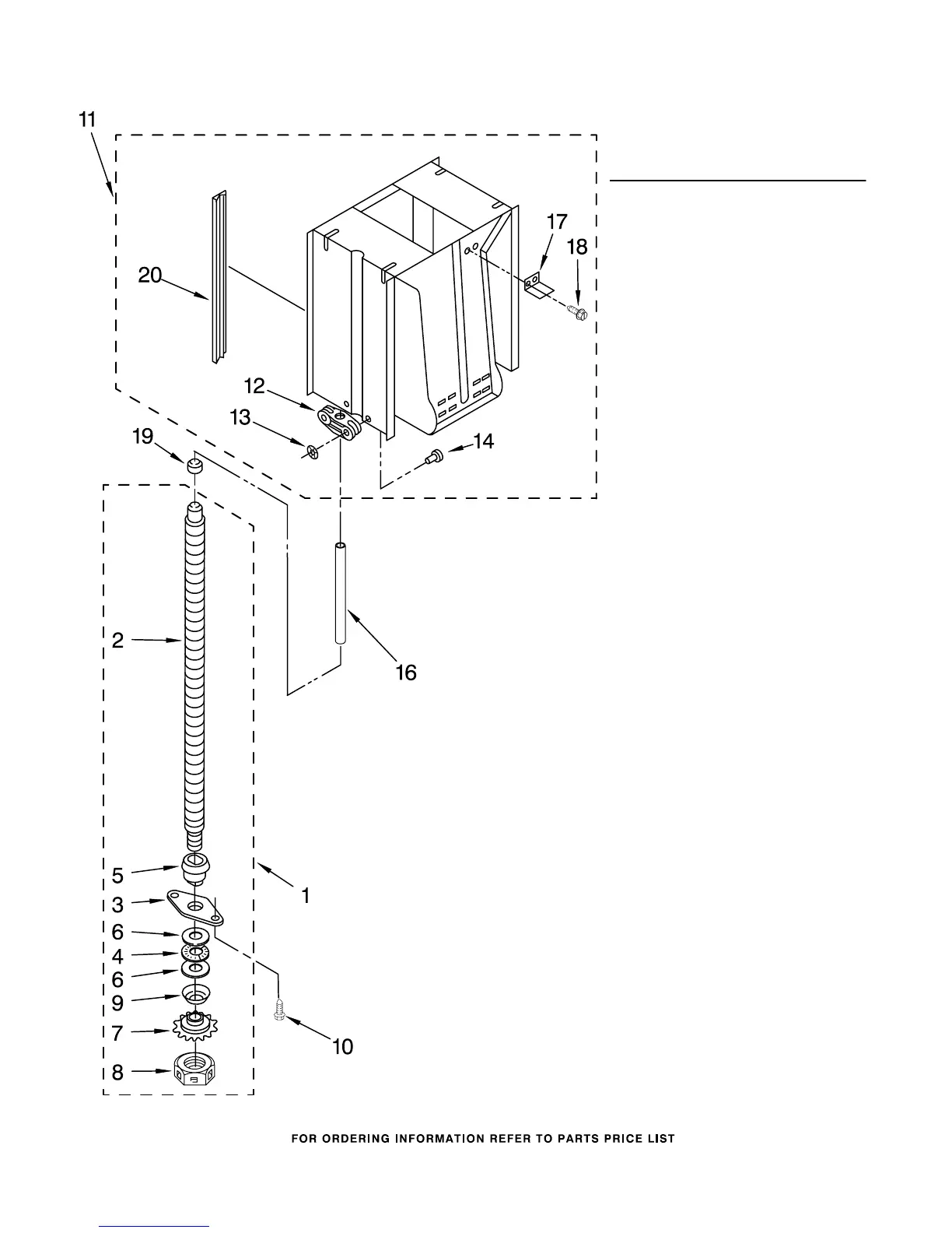
POWERSCREW AND RAM PARTS
4
For Models: TU800SPPB1, TU800SPPQ1
(Black) (White)
882775
Illus. Part
No. No. DESCRIPTION
1 9870500 Screw, Power
Complete
Assembly (2)
2 Screw, Power
(Available Only
As Complete
Assembly)
3 779121 Plate, Bearing (2)
4 775482 Bearing, Needle (2)
5 776941 Hub, Power
Screw (2)
6 775481 Race, Thrust (4)
7 777385 Sprocket,
Washer (2)
8 4154842 Nut, Power
Screw (2)
9 777332 Washer, Cone (2)
10 9871067 Screw,
11 9871251 Ram Assembly
12 9870163 Nut, Power
13 90296 Clip
14 9870187 Stud
16 9870037 Stop, Ram
Powerscrew (2)
17 9870498 Bracket, Top Limit
Switch
18 780034 Screw, (2)
10−24 x 3/8
19 9870775 Cap, Stop
20 9870169 Slide, Ram (4)

Related product manuals