EasyManua.ls Logo

Whirlpool TU800SPPB1 - Page 5

Whirlpool TU800SPPB1
7 pages
Print Icon
To Next Page IconTo Next Page
To Next Page IconTo Next Page
To Previous Page IconTo Previous Page
To Previous Page IconTo Previous Page
Loading...
5
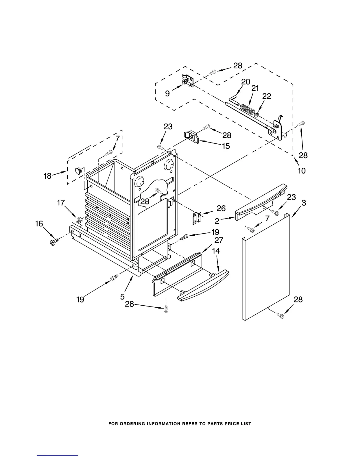
CONTAINER PARTS
For Models: TU800SPPB1, TU800SPPQ1
(Black) (White)
882775

Related product manuals