EasyManua.ls Logo

Williams 2001622 - Page 6

Williams 2001622
20 pages
Print Icon
To Next Page IconTo Next Page
To Next Page IconTo Next Page
To Previous Page IconTo Previous Page
To Previous Page IconTo Previous Page
Loading...
Thermostat Installation
Williams’ heaters are operated by a millivolt type thermostat. Current
to the thermostat is supplied by the pilot generator. Do not connect to
electricity. Anticipator settings are not required.
1. Use of existing wire is acceptable if it is in a satisfactory location
and the wire is in good condition. When in doubt, use new wiring.
2. If a new location is chosen or if this is a new installation, thermostat
cable must first be run to the location selected. All wiring must
agree with local codes and ordinances. These instructions cover
bringing the wire down from the attic but it can be run from a
basement or crawl space using similar methods.
3. Before drilling a hole in wall at selected location, drive a small
finishing nail through the ceiling in the corner of the wall and ceiling
above the thermostat location. Pull the nail out and push a small
stiff wire through the hole so it can be found in the attic. Drill a 1/2-
inch hole through the ceiling wall plate.
4. Probe for obstructions in the partition. Then, drill a 1/2-inch hole
through wall at selected location for thermostat.
5. From the attic, feed the thermostat wire through wall until even with
thermostat location.
6. Snag thermostat wire through hole and pull wire through hole in
wall so that 6-inches of the wire protrudes.
7. Route wire to heater.
Wall-Mounted Thermostat Installation
1. To remove thermostat cover, squeeze both sides and lift.
2. Connect thermostat wires to the thermal screws on the back
of thermostat base.
3. Push any excess wire back through hole in wall and plug
hole with insulation to prevent drafts from affecting thermostat
operation.
4. Be sure to level thermostat for best appearance. Fasten
thermostat base to wall through mounting holes with screws
provided.
5. Replace the thermostat cover.
6. Do not run wire in any location where it might be damaged. Avoid
splicing thermostat wires unless the spliced wires are properly
cleaned, soldered and taped.
7. Use #18 gauge wire as supplied for maximum length of 20 feet. If
longer length is needed, use #16 gauge wire for maximum length
of 25 feet.
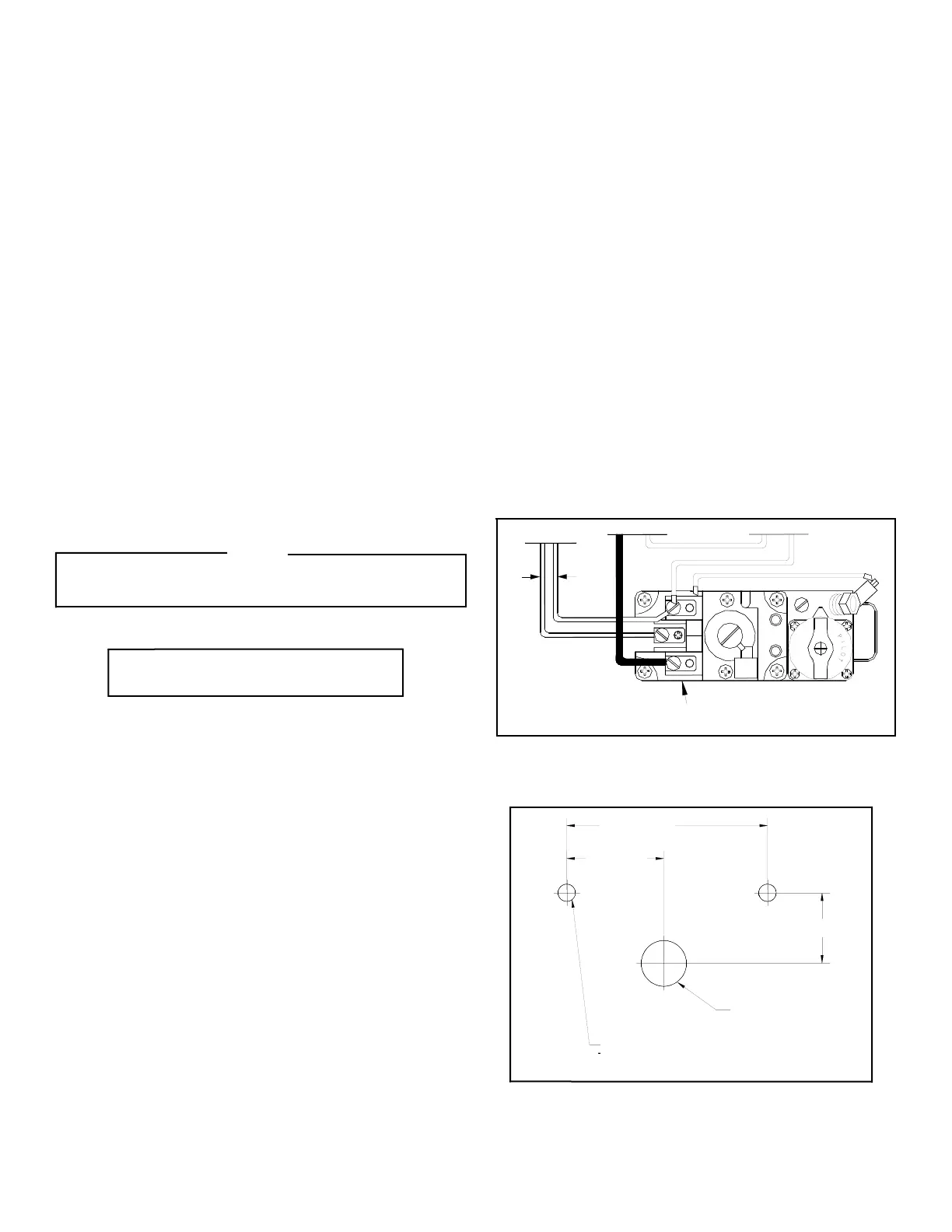
8. Connect thermostat wires to the control valve as shown in Figure 5.
CAUTION
Label all wires prior to disconnection when servicing controls. Wiring
errors can cause improper and dangerous operation. Verify proper
operation after servicing.
Refer to installation instructions packed in the
thermostat carton if you have any doubt about the
above procedures.
Cabinet-Mounted Thermostat Installation
1. Locate the knockout on the right side of heater to mount the
thermostat. Remove knockout by taping lightly with a screwdriver.
It will also be necessary to cut the inside panel insulation about a
1/2-inch for clearance to the knockout.
2. Cut the thermostat wire to the desired length.
3. Connect thermostat wires to thermal screws on the back of the
thermostat base.
4. Feed the thermostat wires through the knockout and route through
the metal clip to the gas valve. Models, 2001621 and 2001622 do
not have a metal clip.
5. Mount the thermostat to the side of the cabinet with screws
provided.
6. Replace thermostat cover.
7. Connect thermostat wires to the control valve as shown in Figure 5.
IMPORTANT: KEEP THERMOSTAT WIRE AWAY FROM
COMBUSTION CHAMBER.
19/32" (.594)
1-3/4" (1.750)
7/8" (.875)
DRILL TWO (2)
3/32" (.094)
DIAMETER HOLES
ABOVE KNOCKOUT
KNOCKOUT IN
SIDE OF CABINET
(Drawing not to scale)
Figure 6
Figure 5
1-3/4” (1.7)
7/8” (.87)
19/32” (.59)
KNOCKOUT IN
SIDE OF CABINET
DRILL TWO (2)
3/32” (.09)
DIAMETER HOLES
ABOVE KNOCKOUT
5
VENT
TH
TH
TP
OUT
IN
ON
IN
OFF
PILOT ADJ.
LIMIT SWITCHTHERMOSTAT
GENERATOR
RED
WHITE
P323011 (OR)
Either thermostat wire
may be connected to the
control valve.
P323011 (OR)
P322660

Related product manuals