EasyManua.ls Logo

Winext AN-203A - Steel Pipe Installation in Running Water; Shallow Burial for Clear Waters; Installation for High Flow or Sediment

Winext AN-203A
19 pages
Print Icon
To Next Page IconTo Next Page
To Next Page IconTo Next Page
To Previous Page IconTo Previous Page
To Previous Page IconTo Previous Page
Loading...
AN-203A Water Level Monitor User Manual
15
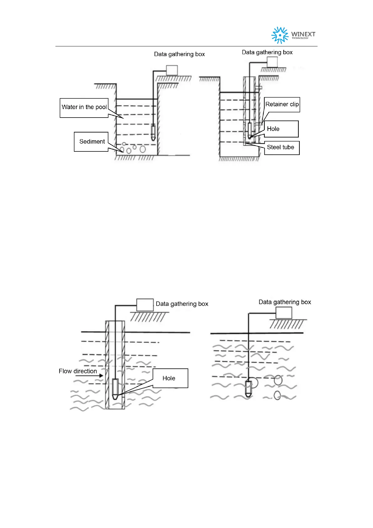
Install in the running water:
It is necessary to install a still water device in running water so that the sensor surface
of the transmitter is parallel to the flow direction.
(1). Put the transmitter in a steel pipe in the water. The steel pipe should be thicker.
Make several holes at different heights on the pipe wall to damp the water wave and
eliminate the influence of hydrodynamic pressure
(2). If it needs to detect in a sand and stone water bed in clear waters, shallow burial is
preferred installation method
(3). If the flow pressure is high or there are sediment, the preferred installation
method is shown in the figure blow.