EasyManua.ls Logo

Wolfcraft 6156 - Page 60

Wolfcraft 6156
92 pages
Print Icon
To Next Page IconTo Next Page
To Next Page IconTo Next Page
To Previous Page IconTo Previous Page
To Previous Page IconTo Previous Page
Loading...
60
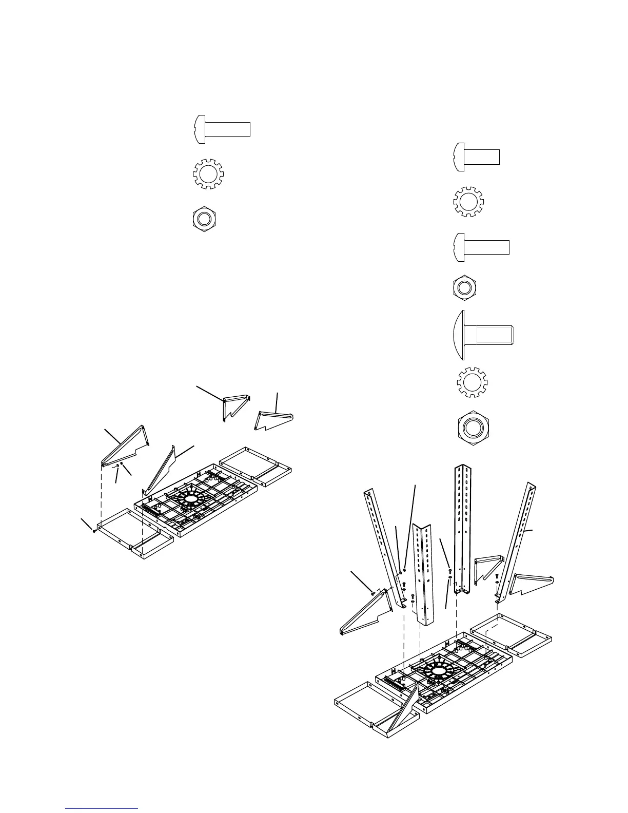
Fixer les supports à la table
Instale los soportes al tablero
AN, noir/negro (4)
AP, noir/negro (4)
AQ, noir/negro (4)
Utiliser 2 vis cylindriques à tête bombée (AN), 2 rondelles dentées
(AP) et 2 écrous hexagonaux (AQ) pour fixer une paire de supports
(C et D) à chaque rallonge (F). Voir la figure 6.
Utilice 2 tornillos de cabeza cónica achatada (AN), 2 rondanas
dentadas (AP) y 2 tuercas hexagonales (AQ) para fijar un par de
soportes (C y D) a cada extensión (F). Consulte la Figura 6.
D
D
AQ
AP
AN
C
C
Figure 6
Figura 6
Fixer les pieds à hauteur réglable
(modèle 6155 seulement)
Instale las patas de altura ajustable
(modelo 6155 solamente)
AJ, zinc (16)
AP, noir/negro (24)
AN, noir/negro (8)
AQ, noir/negro (8)
AR, noir/negro (24)
AS, noir/negro (24)
AT, noir/negro (24)
AP
AQ
AN
AJ
AP
Figure 7
Figura 7
F

Related product manuals