EasyManua.ls Logo

Wolfcraft D-56746 - Assembly Instructions; General Assembly Steps

Wolfcraft D-56746
34 pages
Print Icon
To Next Page IconTo Next Page
To Next Page IconTo Next Page
To Previous Page IconTo Previous Page
To Previous Page IconTo Previous Page
Loading...
1
2
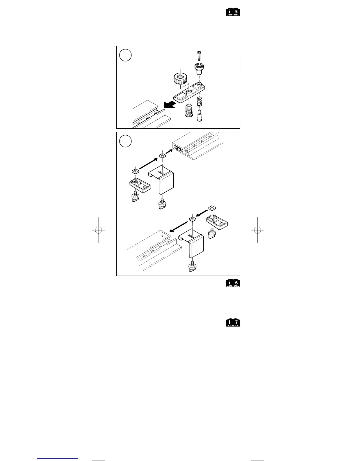
Fig. 1a,b,c:
D Position der Bretter zueinander markieren (X) und mit den
Buchstaben A und B kennzeichnen.
G Mark the position of the two boards to one another (X) and identify
the boards with the letters A and B.
F Marquer l’une par rapport à l’autre la position des planches (X),
et repére les planches avec les lettres A et B.
n Merk de positie van de planken t.o.v. elkaar (X) met de letters A en B.
I Contrassegnare una rispetto all'altra la posizione delle assi (X),
e contrassegnare le assi con le lettere A e B.
E Marcar la posición de las tablas una con respecto a la otra con una (X)
y clasificarlas con las leteras A y B.
P Marcar a posição das pranchas uma em relação à outra (X) e assinalá las
com as letras A e B.
K Marker (X) bræddernes position i forhold til hinanden og mærk dem med
bogstaverne A og B.
S Markera brädorna i förhållande till varandra (X) och med bokstäverna
A och B.
f Merkitse (X: llä) lautojen asema toisiinsa nähden ja merkitse laudat
kirjaimin A ja B.
N Marker posisjonen til bordene (X) og marker med bokstavene A og B.
l Zaznaczyć pozycję desek względem siebie (X) i oznaczyć je literami A i B.
q Μαρκρουµε την µεταξ των σανδων θση (X) σηµεινοντασ
µε τα κεφαλαα A και B.
T Tahtaların birbirine olan pozisyonlarını işaretleyin (X) ve A ve B harfleri ile
tanımlayın.
3
D Montageanleitung
G Assembly Instructions
F Instructions de montage
n Montage instructies
I Istruzioni per montaggio
E Instrucciones de montaje
P Instrução de montagem
K Montagevejledning
S Monteringsanvisning
f Asennuskäyttöohje
N Monteringsanvisning
l Opis montażu
q Οδηγες µονταρσµατος
T Montaj talimatı
D Bedienungsanleitung
G Operating instructions
F Mode d’emploi
n Gebruiksaanwijzing
I Istruzioni per l’uso
E Instrucciones de manejo
P Instrução de operação
K Betjeningsvejledning
S Bruksanvisning
f Käyttöohje
N Bruksanvisning
l Instrukcja obsługi
q Οδηγες χρσης
T Kullanma talimatı
BDAL 4650 03.02.2002 13:58 Uhr Seite 3

Related product manuals