EasyManua.ls Logo

Woods PSS72 - Page 52

Woods PSS72
66 pages
Print Icon
To Next Page IconTo Next Page
To Next Page IconTo Next Page
To Previous Page IconTo Previous Page
To Previous Page IconTo Previous Page
Loading...
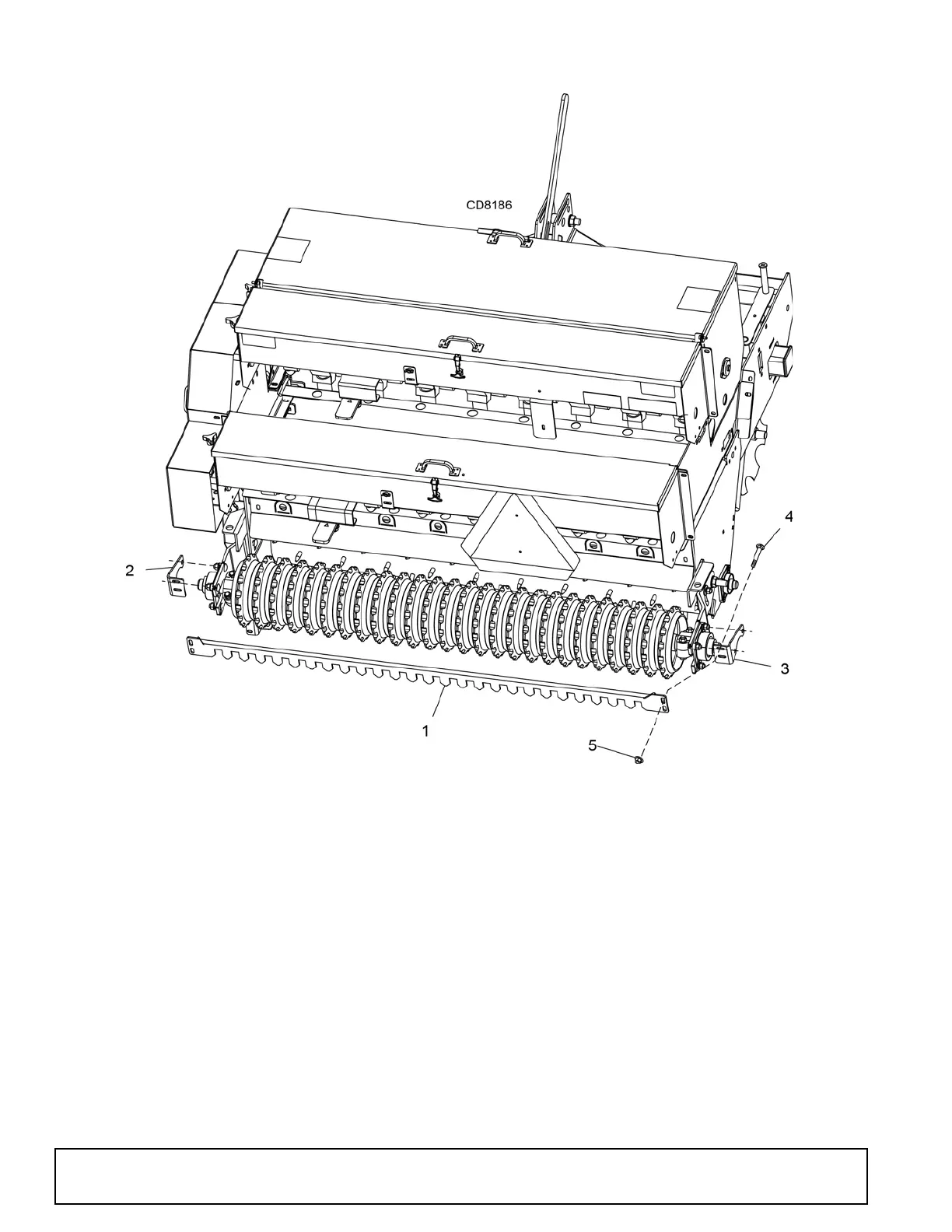
52 Parts
MAN0988 (11/5/2012)
PSS48, PSS60, PSS72, PSS84 SCRAPERS - CAST IRON CULTIPACKER OPTION
REF PSS48 PSS60 PSS72 PSS84 QTY DESCRIPTION
1 103642648RP 103642660RP 103642672RP 103642684RP 1 Scraper, cultipacker, cast iron
2 1036427RP 1036427RP 1036427RP 1036427RP 1 Mount, scraper, cultipacker, cast iron, LH
3 1036428RP 1036428RP 1036428RP 1036428RP 1 Mount, scraper, cultipacker, cast iron, RH
4 6697* 6697* 6697* 6697* 4 3/8 NC x 1 carriage bolt, GR5
5 14350* 14350* 14350* 14350* 4 3/8 NC flanged lock nut
* Standard hardware, obtain locally
(Rev. 4/24/2018)

Related product manuals