EasyManua.ls Logo

Woods S15CD - Page 55

Woods S15CD
68 pages
Print Icon
To Next Page IconTo Next Page
To Next Page IconTo Next Page
To Previous Page IconTo Previous Page
To Previous Page IconTo Previous Page
Loading...
Parts
55
MAN0506 (Rev. 9/7/2011)
WEASLER
®
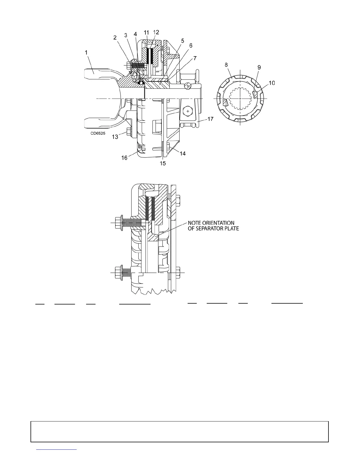
24K TORQMASTER CLUTCH ASSEMBLY
REF PART NO QTY DESCRIPTION
11 90318175 2 Friction disk
12 90318174 1 Separator plate
13 90003055 4 M10 x 1.50 x 25 Serrated hex
head cap screw
14 90003053 6 M8 x 1.25 x 60 Hex bolt, CL 10.9
15 90011236 A/R Washer, 8 mm x 1.6 thick
16 90006548 6 Nut, M8 x 1.25 Hex ZP
17 1010833 1 Hub clamp asy 1.75
A 1010832 1 Friction pack, overrunning (10
mm bolts, 24K)
B 1010805 1 Complete clutch asy, 55 clamp
(10 mm bolts, 24K)
NSS = Not Serviced Separately
REF PART NO QTY DESCRIPTION
1 1010831 1 Yoke, Clamp style with overrun-
ning clutch & hub asy (10 mm
bolts) (includes Items 2-10)
1A 1019629 1 Overrunning clutch repair kit
(includes items 2, 6, 7, 9, & 10)
2 90318165 1 Wave spring
3 90318154 1 Set screw, .312-18 x .25 long
4 90317541 31 Ball, 1/4" dia.
5 1019630 1 OR Inner hub assembly
6 90318167 1 Washer
7 90318168 1 Retaining ring
8 90318169 1 Overrunning hub
9 90318170 1 Leaf spring
10 90318171 1 Overrunning key
(Rev. 11/2/2012)

Related product manuals