EasyManua.ls Logo

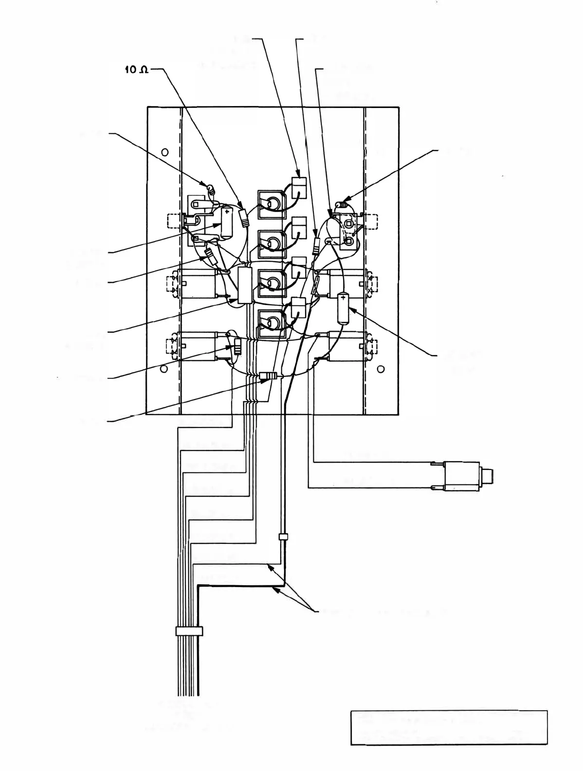
Wurlitzer 200 - schem-18

Wurlitzer 200
77 pages
Print Icon
To Next Page IconTo Next Page
To Next Page IconTo Next Page
To Previous Page IconTo Previous Page
To Previous Page IconTo Previous Page
Loading...




a





 





 


 

 



 



 



    
 
 
    
  

      

Related product manuals