EasyManua.ls Logo

Xantech D5RH - Page 16

Xantech D5RH
32 pages
Print Icon
To Next Page IconTo Next Page
To Next Page IconTo Next Page
To Previous Page IconTo Previous Page
To Previous Page IconTo Previous Page
Loading...
08905153A - 16 -
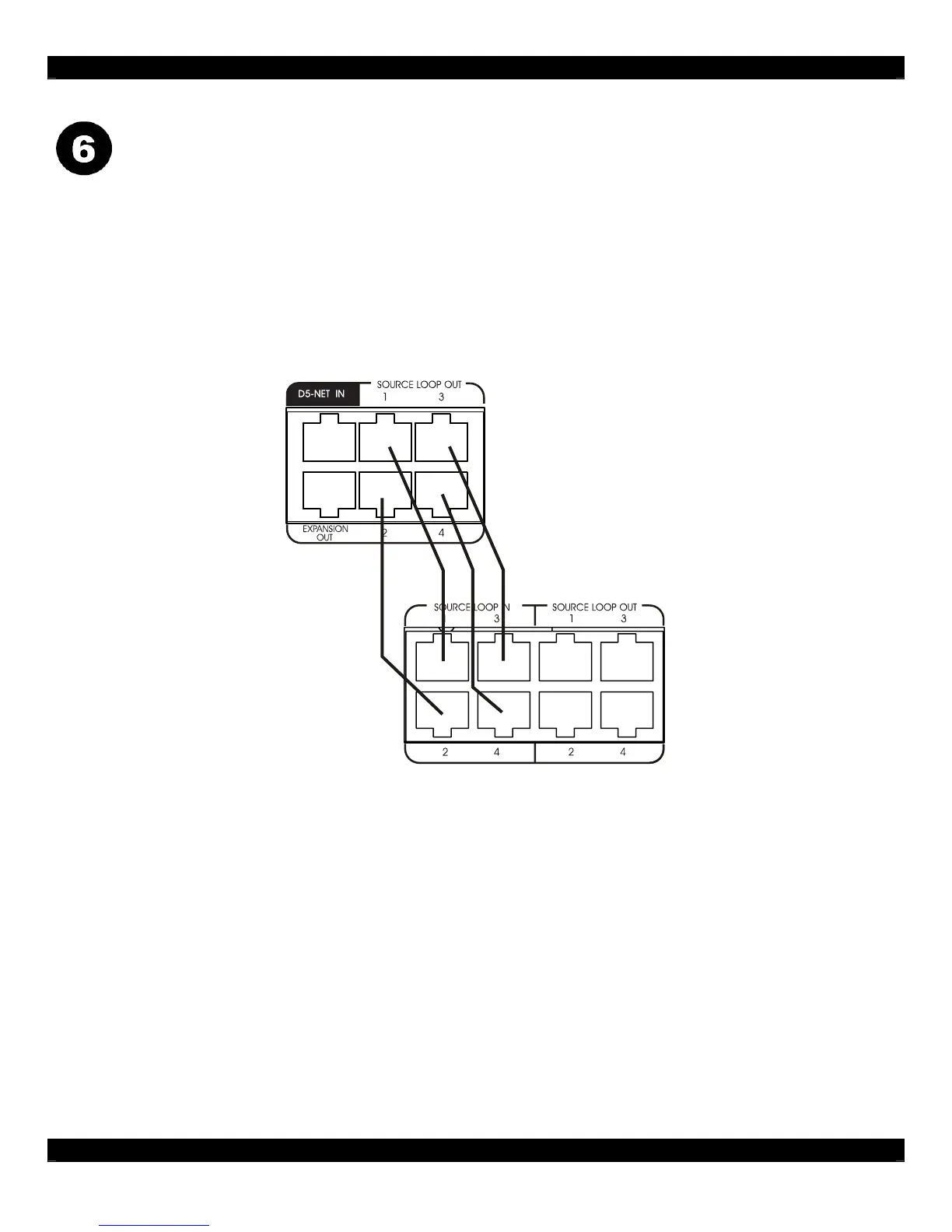
Source Loop Outputs (SOURCE LOOP OUT)
The Source Loop Outputs are used only when adding D5XH Expansion Hubs to the D5RH in order to
create more than four zones. These connectors carry Audio, Status and IR information between the
units and allow seamless functionality in all areas of the home with no complicated cross-wiring,
splicing or specialized adapters needed. When adding a D5XH Router, simply connect CAT-5 Patch
Cables from the ‘SOURCE LOOP OUT’ of the D5RH to the ‘SOURCE LOOP IN’ of the D5XH as
shown in Figure 3.4. Complete connections for expanded systems are described in the section
entitled Multi-Chassis Connections.
D5RH
D5XH
Cat-5 Ethernet
Patch Cables
Figure 3.4: Source Loop Outputs

Related product manuals