EasyManua.ls Logo

Yale MCW040-E - Page 60

Yale MCW040-E
98 pages
Print Icon
To Next Page IconTo Next Page
To Next Page IconTo Next Page
To Previous Page IconTo Previous Page
To Previous Page IconTo Previous Page
Loading...
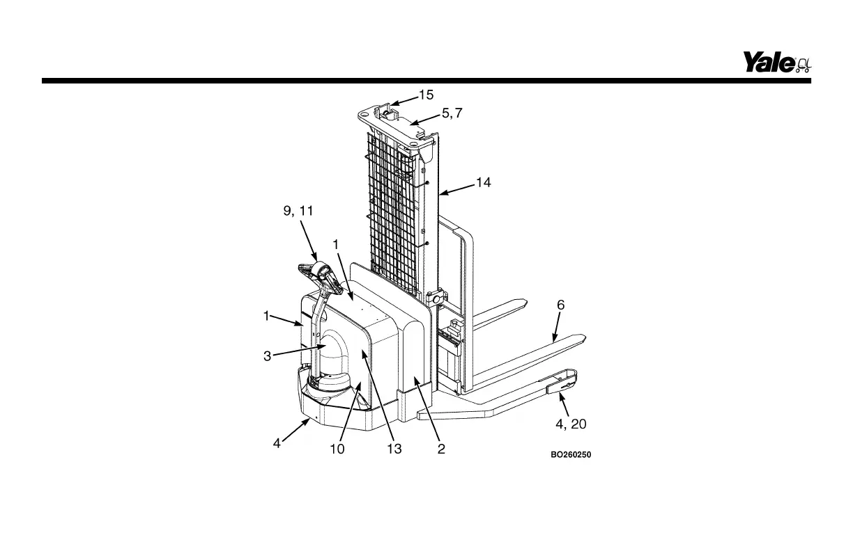
Figure 15. Maintenance Points - MSW025/030-F
Maintenance Schedule
58

Related product manuals