EasyManua.ls Logo

Yamaha Disklavier DGP1 - Page 56

Yamaha Disklavier DGP1
116 pages
Print Icon
To Next Page IconTo Next Page
To Next Page IconTo Next Page
To Previous Page IconTo Previous Page
To Previous Page IconTo Previous Page
Loading...
II-4
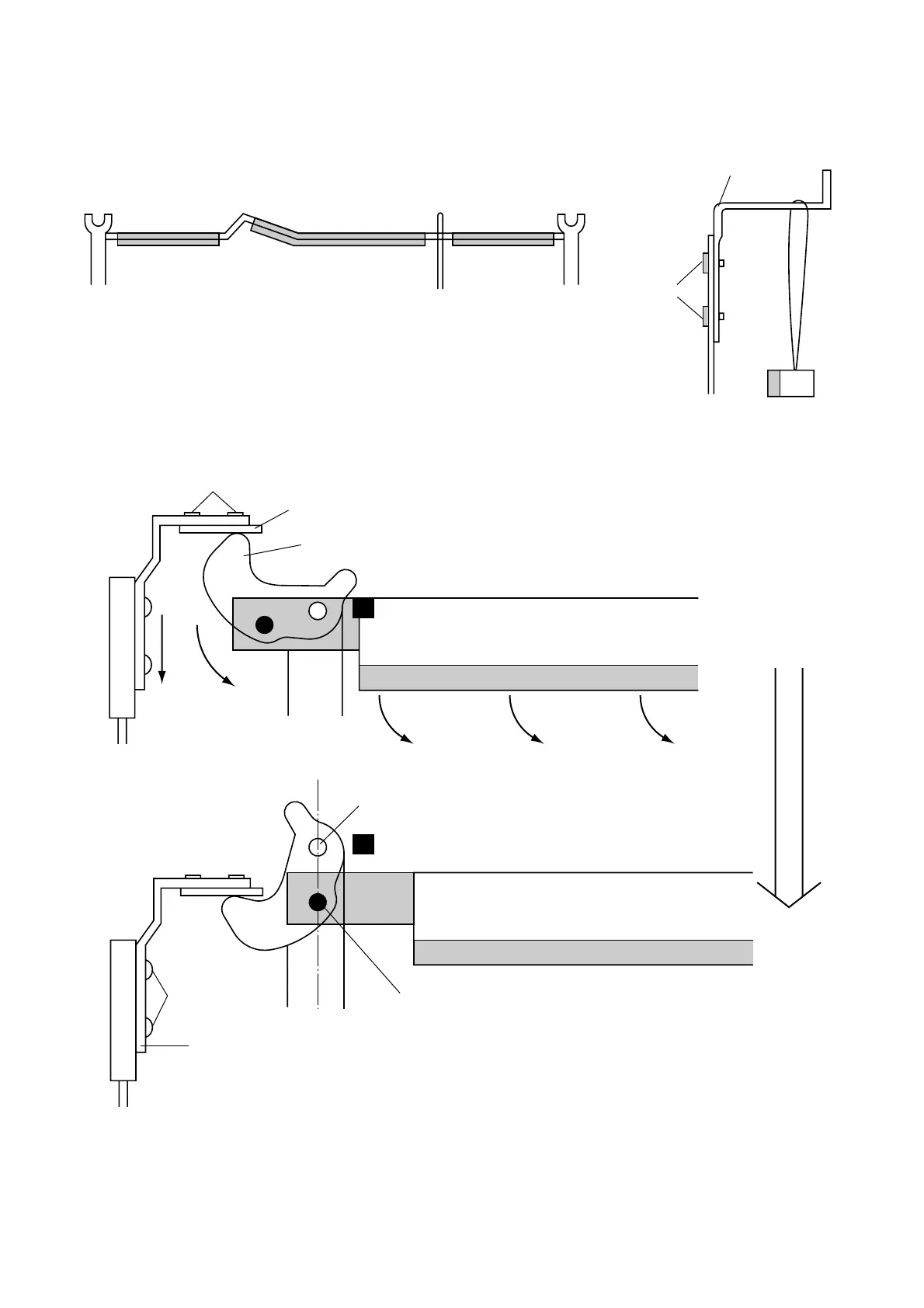
<Fig. 1>
<Fig. 2>
Bracket
bass
Metal
stay
Bracket
treble
Metal
stay
Screw
Cord
Hang metal
S-lever
Drive metal
Screws
Stopper
Rest
Silent
S-lever pivot
Stopper pivot
Screws
Drive metal stay

Table of Contents

Other manuals for Yamaha Disklavier DGP1

Related product manuals