EasyManua.ls Logo

Yamaha Disklavier MX80 - Calibration of Key Sensor (MPX70, MARKIII); Error History

Yamaha Disklavier MX80
116 pages
Print Icon
To Next Page IconTo Next Page
To Next Page IconTo Next Page
To Previous Page IconTo Previous Page
To Previous Page IconTo Previous Page
Loading...
II-37
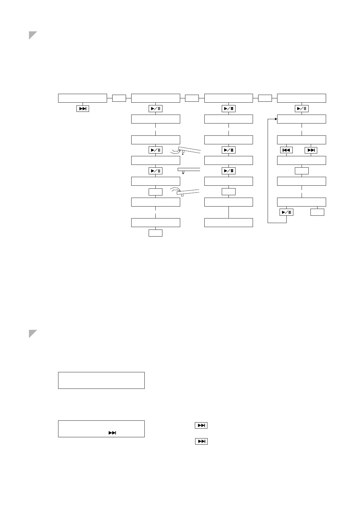
5-6 Calibration of Key Sensor (MPX70, MARKIII)
The 1-beam continuous sensor on the MPX70 and the MARKIII includes a calibration function. In
most cases it is not necessary to perform calibration after the instrument has left the factory. But cali-
bration does need to be performed whenever the sensor unit is replaced.
To access this feature, select “SENSOR MEASURE” on the SENSOR SHEET menu. You can then
proceed as shown below.
5-7 Error History
This feature displays a history of the errors that have occurred, and the number of occurrences.
All models except PRO
PRO
SENSOR MEASURE
()
SENSOR ALL KEY MEASURE
(>.)
SENSOR ONE KEY MEASURE
(>.)
SENSOR MANUAL ADJ
(>.)
SENSOR ALL KEY MEASURE
WAIT A MOMENT•••
SENSOR ONE KEY MEASURE
SLECT KEY
SENSOR MANUAL ADJ
SELECT KEY
SENSOR ALL KEY MEASURE
READING OPEN (>)
SENSOR ONE KEY=XX
READING OPEN (>)
SENSOR ONE ADJ:K=41C#
+00 VEL=102 («,»,>,0)
SENSOR ALL KEY MEASURE
READING REST (>)
SENSOR ONE KEY=XX
READING REST (>)
SENSOR ONE ADJ:K=41C#
+03 VEL=102 («,»,>,0)
SENSOR ALL KEY MEASURE
READING END (write .>)
SENSOR ONE KEY=XX
READING END (write .>)
SENSOR ONE ADJ:K=41C#
NOW WRITING TO FLASH-
SENSOR ALL KEY MEASURE
NOW WRITING TO FLASH•
SENSOR ONE KEY=XX
NOW WRITING TO FLASH
SENSOR ONE ADJ:K=41C#
COMPLETED OK (A>)
SENSOR ALL KEY MEASURE
READING COMPLETED OK
SENSOR ONE KEY=XX
COMPLETED OK
READING
Open: Remove the key stop rail, and lift up
each of the 88 keys once so that the
shutter does not obstruct the sensor
slit beam. (It is not necessary that
this be done simultaneously for all
keys.)
Rest: Put the 88 keys in the rest position.
End: Play each of the 88 keys once, low-
ering them (not too strongly, not too
softly) to the end of the stroke. (A
chromatic scale is sufficient.)
*ERROR HISTORY ***
*** DISPLAY ****
Press [PLAY] to open error-message display.
Press [STOP] to display number of occurrences.
Press to clear the error-history memory.
*ERROR HISTORY ***
(–, +, )
Press to display the total accumulated running time
(cumulative controller-power ON time).
Press to display errors and the times at which they
occurred.
Press [+/YES] twice to clear the error-history memory.
Wait 1~2 minute
Press the key that you wish to measure.
Press a KEY(ex.41C#)
OPEN
(soft)
(loud)
REST
END
Wait 1~2 minute
Wait 1~2 sec
(another KEY)
OFF
OFF

Table of Contents

Related product manuals