EasyManua.ls Logo

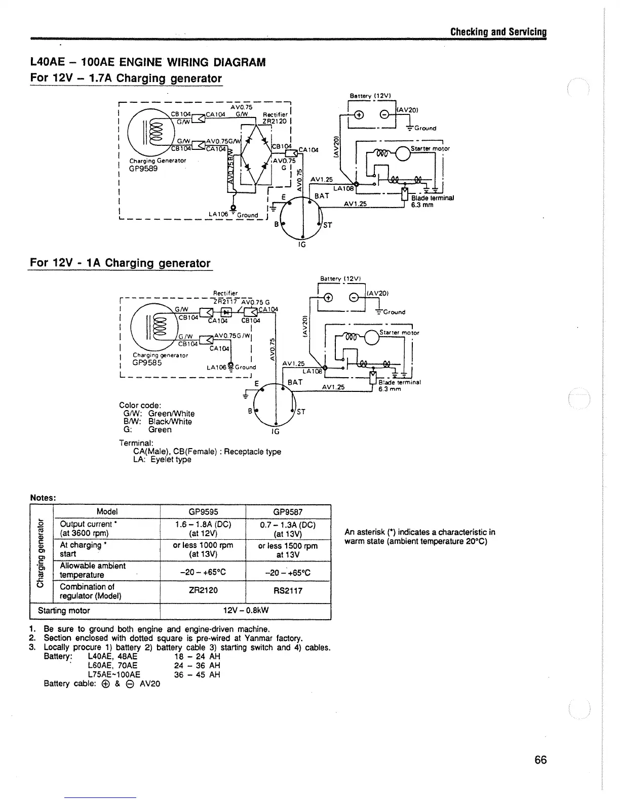
Yanmar L48AE - L40 AE - L100 AE Engines Wiring Diagram (for 12 V - 1.7 A Charging Generator); L40 AE - L100 AE Engines Wiring Diagram (for 12 V - 1 A Charging Generator)

Yanmar L48AE
130 pages
Print Icon
To Next Page IconTo Next Page
To Next Page IconTo Next Page
To Previous Page IconTo Previous Page
To Previous Page IconTo Previous Page
Loading...

Table of Contents

Related product manuals