EasyManua.ls Logo

Yanmar SD20 - Component Identification

Yanmar SD20
86 pages
Print Icon
To Next Page IconTo Next Page
To Next Page IconTo Next Page
To Previous Page IconTo Previous Page
To Previous Page IconTo Previous Page
Loading...
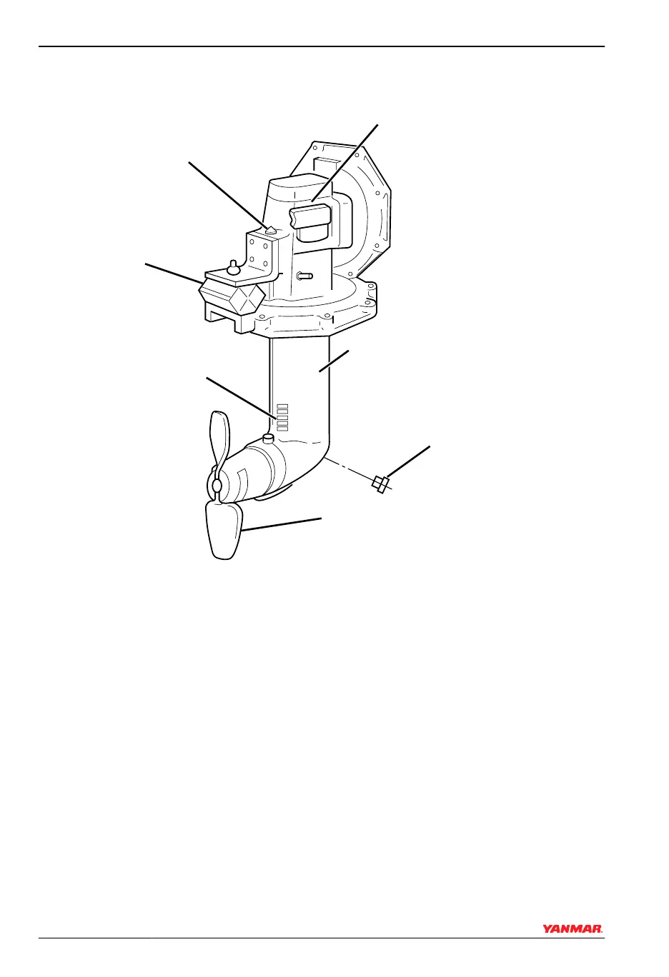
COMPONENT IDENTIFICATION
(1)
(2)
(3)
(4)
0006440
(5)
(6)
(7)
Figure 1
1 Dipstick
2 Upper Gear Case
3 Lower Gear Case
4 Lubricating Oil Drain Plug
5 Propeller
6 Seawater Inlet
7 Flexible Mount
PRODUCT OVERVIEW
10 SD Operation Manual
© 2009 Yanmar Marine International

Related product manuals