EasyManua.ls Logo

Yardline RIDGEPOINTE - FRONT AND BACK WALL INSTALLATION

Yardline RIDGEPOINTE
78 pages
Print Icon
To Next Page IconTo Next Page
To Next Page IconTo Next Page
To Previous Page IconTo Previous Page
To Previous Page IconTo Previous Page
Loading...
25
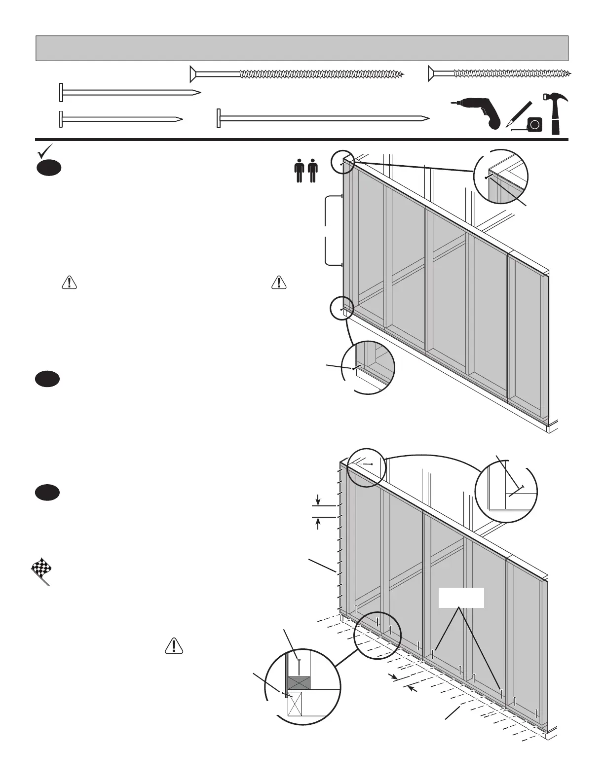
BACK WALL INSTALLATION
3" (7,6 cm)
x1
3" (7,6 cm)
x10
2
BEGIN
Place back wall centered on  oor.
Secure wall with 2" screw into side wall
bottom plate  and top plate .
Secure wall to bottom plate fi rst.
1
Nail lower edge of panels to  oor with 2"
nails spaced 6" apart.
Angle nail to hit  oor frame .
Secure panel to side wall stud with 1-1/2"
nails spaced 6" apart.
ENSURE PANEL CORNERS ARE FLUSH.
Your back wall is now installed.
FINISH

Nails
2" (5,1 cm)
x23
1-1/2" (3,8 cm)
x11
2" (5,1 cm)
x2
PARTS REQUIRED

Nails

Nails
Flush
6" (15,2 cm)
6"
(15,2 cm)

Screw


Screw



Nails

Nails

Secure wall top plates with (1) 3" screw
angled at the corner .
3

Screw
