EasyManua.ls Logo

Yardline RIDGEPOINTE - GABLE UNITS AND TRIM; GABLE UNITS ASSEMBLY

Yardline RIDGEPOINTE
78 pages
Print Icon
To Next Page IconTo Next Page
To Next Page IconTo Next Page
To Previous Page IconTo Previous Page
To Previous Page IconTo Previous Page
Loading...
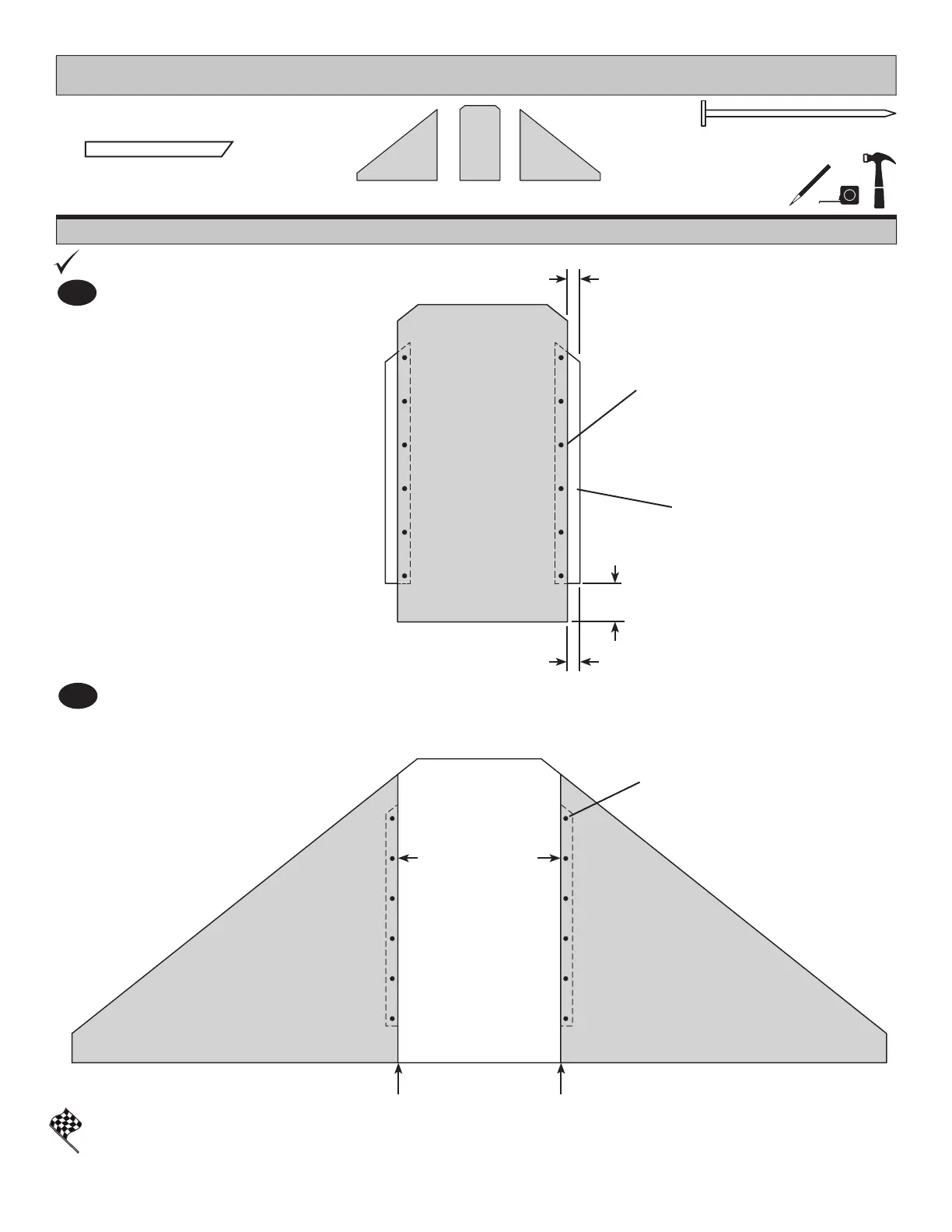
34
Assemble gable unit panels with the primed side facing up.
BACK GABLE UNIT
PARTS REQUIRED:
1-3/4"
(4,4 cm)
1-3/4"
(4,4 cm)
5-7/16"
(13,8 cm)
Install center gable panel on (2) FOB.
Secure with 1-1/2" nails spaced evenly.
1
BEGIN
2
Install left and right gable panels  ush
to installed panel.
Secure with 1-1/2" nails spaced evenly.
Flush Flush
FOB

Nails

Nails
1-1/2" (3,8 cm)
x24
FOB
x2
2 x 4 x 34" (5,1 x 10,2 x 86,4 cm)
x1 x1 x1
FlushFlush
FINISH
Your back gable unit is now assembled.