EasyManua.ls Logo

Yukon 64023 - Assembly Diagram

Yukon 64023
8 pages
Print Icon
To Next Page IconTo Next Page
To Next Page IconTo Next Page
To Previous Page IconTo Previous Page
To Previous Page IconTo Previous Page
Loading...
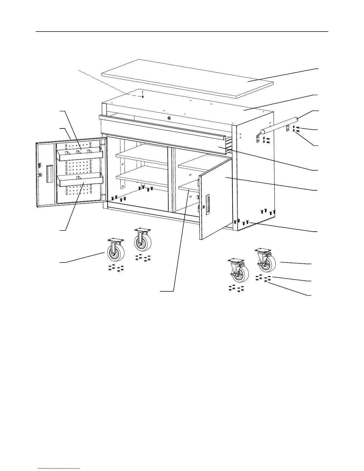
Page 7For technical questions, please call 1-888-866-5797.Item 64023
Assembly Diagram
2
1
3
4
5
6
8
7
9
10
11
12
14
13
15
17
16

Related product manuals