EasyManua.ls Logo

Zenith J584W - Page 21

Zenith J584W
80 pages
Print Icon
To Next Page IconTo Next Page
To Next Page IconTo Next Page
To Previous Page IconTo Previous Page
To Previous Page IconTo Previous Page
Loading...
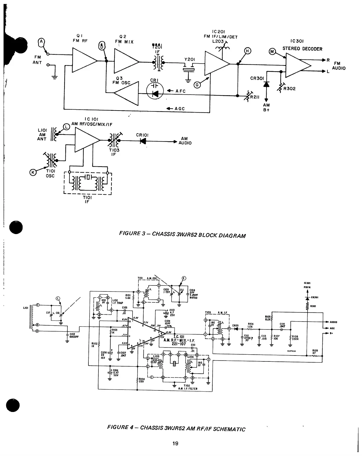
FIGURE
3
-
CHASSIS
3WJR52
BLOCK
DIAGRAM
FIGURE
4
-
CHASSIS
3WJR52
AM
RF/IF
SCHEMA
TIC
19