EasyManua.ls Logo

ZF 305-2A - Page 30

ZF 305-2A
52 pages
Print Icon
To Next Page IconTo Next Page
To Next Page IconTo Next Page
To Previous Page IconTo Previous Page
To Previous Page IconTo Previous Page
Loading...
30
ZF PADOVA
Il est interdit d'exécuter l'inversion de marche en
laissant le T.V. inséré.
È vietato eseguire l'inversione di marcia con il
T.V.M. inserito.
Die Umkehr der Fahrtrichtung bei eingeschalteter
T.V.M. ist verboten.
Está prohibido invertir la marcha cuando laválvula
trolling está funcionando.
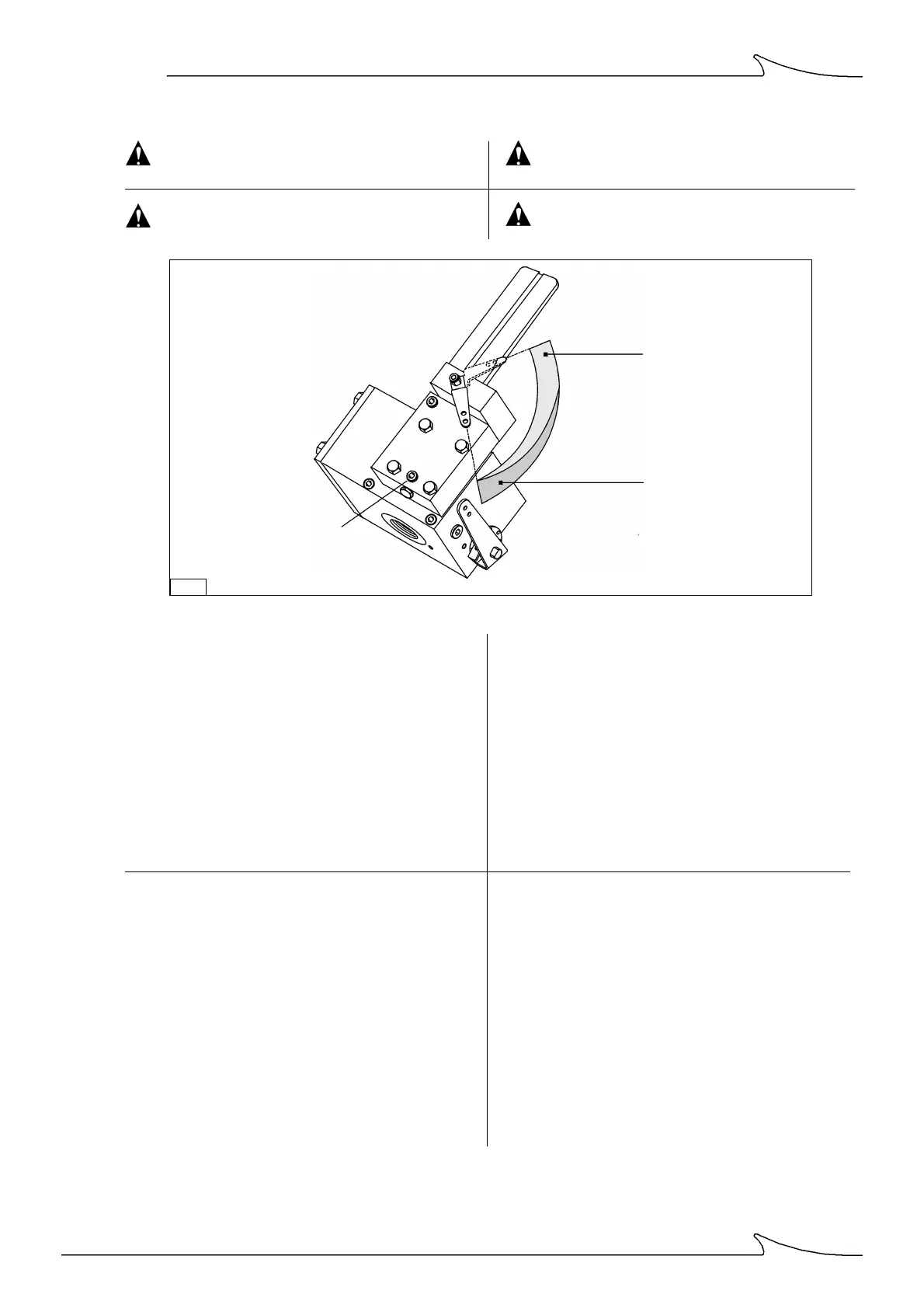
Fig.5
SLITTAMENTO/FRIZIONI
DÉRAPAGEGLISSEMENT EMBRAYAGES
DESLIZAMIENTO DE LOS EMBRAGUES
SCHLEIFEN DER KUPPLUNGEN
PRESSIONE FRIZIONI
PRESSION EMBRAYAGES
PRESIÓN DE LOS EMBRAGUES
DRUCK DER KUPPLUNGEN
15 = attacco manometro
prise du anomètre
empalme del manómetro
manometeranschluss
15
TROLLING VALVE ELETTRICO (T.V.E.)
È un dispositivo elettrico avente le stesse funzioni e
modalità d’uso del T.V.M.
L’azionamento del T.V.E. avviene per mezzo di una elet-
trovalvola proporzionale.
Il funzionamento del rapporto di riduzione dell'invertitore,
delle dimensioni dell'elica e delle caratteristiche dell'im-
barcazione, l'effettiva velocità di rotazione dell'elica può
essere ridotta di una percentuale variabile da 30 - 70 %
di quella utile.
Range di utilizzo raccomandato : 60 - 80 °C
TROLLING VALVE ELECTRIQUE (T.V.E.)
Il s'agit d'un dispositif électrique dont les fonctions etle
mode d'emploi sont les mêmes que ceux du T.V.M.
L'actionnement du T.V.E. se fait au moyen d'une électro-
valve proportionnelle.
En fonction du rapport de reduction de l'inverseur, des
dimensions de l'helice peut entre reduit d'un pourcenta-
ge variable egal a 30 - 70 % de la vitesse utile.
Il est recommande de l'emploi : 60 - 80 °C
VÁLVULA TROLLING ELÉCTRICA (T.V.E.)
La válvula trolling eléctrica tiene las mismas funciones
que la válvula trolling mecánica y se utiliza del mismo
modo.
Se acciona por medio de una electroválvula proporcio-
nal.
En funcion de la relacion de reduccion del inversor, las
dimensiones efectiva de la helice podrà reducirse de un
porcentaje variable entre el 30 - 70 % con respecto a la
velocidad util.
Se recomienda el campo de utilizacion : 60- 80°C
ELEKTRISCHE TROLLING VALVE (T.V.E.)
Hierbei handelt es sich um eine elektrische Vorrichtung
mit denselben Funktionen und Einsatzbedingungen wie
die T.V.M.
Die Betätigung der T.V.E. erfolgt mit einem elektrischen
Proportionalventil.
Je nach dem Üntersetzungsverhältnis des wendegetrie-
bes, den propellermassen und den eigenschaften des
schiffes kann die tatsächliche umdrehungszahl des pro-
pellers um einen variablen prozentsatz gleich 30 - 70 %
der nutzgeschwindigkeitreduziert werden.
Wir empfehlem den Einsatzbereich : 60 - 80 °C
Plus d'informations sur : www.dbmoteurs.fr

Related product manuals