EasyManua.ls Logo

3M C1060 - Page 88

3M C1060
90 pages
Print Icon
To Next Page IconTo Next Page
To Next Page IconTo Next Page
To Previous Page IconTo Previous Page
To Previous Page IconTo Previous Page
Loading...
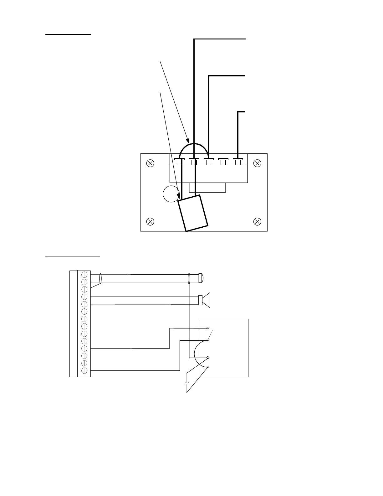
MIC
SHIELD
MENU
SPKR
MENU
SPKR
VEH
DET
12
VDC
MIC
Pin 5
Pin 3
Pin 2
Pin 1
TB1 Sonic Detector
C960/760 Base Station
Optional 1000 microFarad capacitor
(fold over toward the board so that the
unit fits back in the electrical box)
Shield from audio cable
C960/760 (pin 13)
Interconnect Module (pin 1)
D-15 (yellow wire)
12 - 20 Volts DC
C960/760 (pin 14)
Interconnect Module (pin 9)
D-15 (white/orange wire)
Vehicle Detect
C960/760 (pin 11)
Interconnect Module (pin 10)
D-15 (black/white wire)
Jumper wire
Wiring Diagram
Schematic Diagram
Sonic Detector Circuit Board
1 2 3 4 5
TB1
-
+
+
-
3
Food Service Trades Department
3M Center, Building 551-1E-02
St. Paul, MN 55144-1000 19981203

Other manuals for 3M C1060

Related product manuals