EasyManua.ls Logo

AAF UV05 - Page 20

Default Icon
50 pages
Print Icon
To Next Page IconTo Next Page
To Next Page IconTo Next Page
To Previous Page IconTo Previous Page
To Previous Page IconTo Previous Page
Loading...
20 McQuay OM 751
Description of Operation
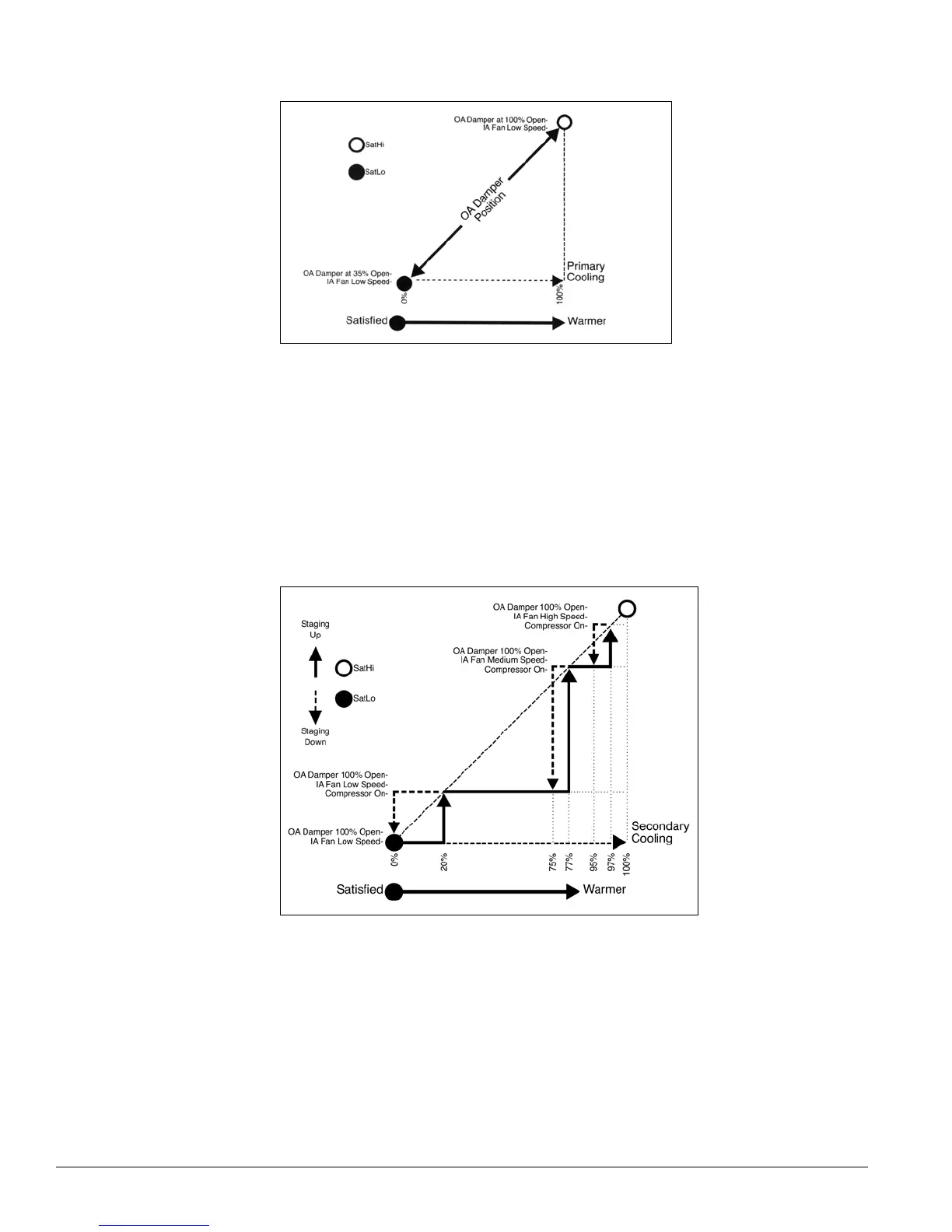
Figure 13: Econ state operation (occupied mode and auto fan)
Econ Mech State (State 1)
The Econ Mech state is a “normal” state during Cool mode. The Econ Mech state typically is
active in the Cool mode when primary cooling (economizer) alone is not adequate to meet the
cooling requirements and both primary cooling and secondary cooling (compressor) are
available.
When the Econ Mech state becomes active, the OA damper is set to 100% open, and the UVC
uses the units mechanical cooling capabilities as needed to maintain the effective cooling set
point (see “Space Temperature Set Points” on page 26).
The UVC monitors the DAT to ensure it does not fall below MCLL.
Figure 14: Econ mech state operation (occupied mode and auto fan)
Mech State (State 2)
The Mech state is a “normal” state during Cool mode. The Mech state typically is active in the
Cool mode when primary cooling (economizer) is not available and secondary cooling
(compressor) is available.
When the Mech state becomes active, the UVC uses the unit’s mechanical cooling capabilities
as needed to maintain the effective cooling set point (see “Space Temperature Set Points” on
page 26). If cooling is not required while in the Mech state, the UVC can “idle” in the Mech
state until cooling is required or until there is a call to switch to another mode or state.The
UVC monitors the DAT to ensure it does not fall below MCLL.

Table of Contents