EasyManua.ls Logo

ABB NBRA-654 - Braking Resistors SAFUR80 F500, SAFUR90 F575; Braking Resistors SAFUR180 F460, SAFUR125 F500, SAFUR200 F500, SAFUR210 F575

ABB NBRA-654
54 pages
Print Icon
To Next Page IconTo Next Page
To Next Page IconTo Next Page
To Previous Page IconTo Previous Page
To Previous Page IconTo Previous Page
Loading...
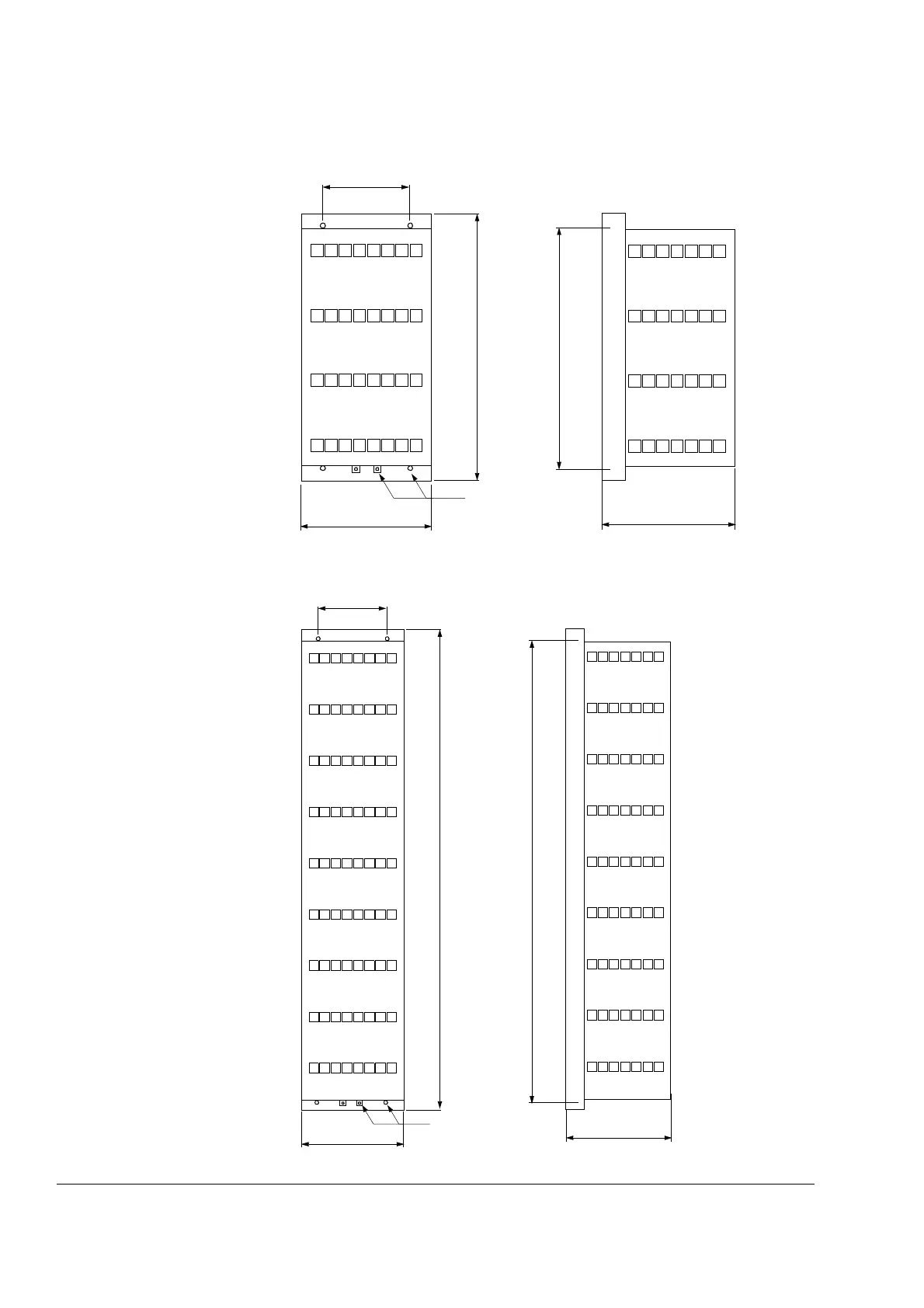
Appendix A Dimensions
A-4 Installation and Start-up Guide for NBRA-6xx
Braking Resistors
SAFUR80F500,
SAFUR90F575
Braking Resistors
SAFUR180F460,
SAFUR125F500,
SAFUR200F500,
SAFUR210F575
234
300
600
Ø 7
345
R+
R-
550
Weight:
SAFUR80F500: 14 kg
SAFUR90F575: 12 kg
234
300
1320
Ø 7
345
R+
R-
1270
Weight:
SAFUR180F460: 32 kg
SAFUR125F500: 25 kg
SAFUR200F500: 30 kg
SAFUR210F575: 27 kg

Related product manuals