EasyManua.ls Logo

Abloy CERTA EL420 - Page 8

Abloy CERTA EL420
36 pages
Print Icon
To Next Page IconTo Next Page
To Next Page IconTo Next Page
To Previous Page IconTo Previous Page
To Previous Page IconTo Previous Page
Loading...
25 mm
7 x 7 mm/
8 x 8 mm/
9 x 9 mm
50 mm
10 mm
20 mm
U: 12 - 24 V DC (± 15%)
12 - 18 V AC (-10% / +15%), RMS
I : Max. Normal drive Idle
Anlaufspitzenstrom Normalbetrieb Ruhestrom
Maxi. Normal Repos
Maximaal. Motor in bedrijf In rust
Max. Durante el uso Con cerradura inactiva
Max. Funzionamento normale Riposo
Max. Běžnýpohyb Klidu
Maksymalny Normalny Spoczynkowy
Макс. Работаотмотора Холостогохода
动态最大 马达驱动时 静态
12 VDC 1300 mA 450 mA 80 mA
24 VDC 600 mA 220 mA 40 mA
UK
CN
RU
FR
DE
NL
ES
IT
CZ
PL
Adjustabledelay 2 -15 s
Riegel-Rückhaltezeit
Temporisation
Instelbare tijdsvertraging
Temporización
Tempo di cortesia
Nastavitelnádobaotevření
Czas otwarcia
Регулируемаязадержка
可调延时
Relays Max. 0.8 A 30 V AC/DC
resist. 20 W
Ausgänge Mikroschalterr
Sorties pour télésurveillance
Maximale belasting
Relés
Relè
Monitorovacíkontakty
Styki przeka¼ników
Выходыдляиндикации
继电器 最大 0.8A,30VAC/DC
UK
UK
RU
RU
FR
FR
DE
DE
NL
NL
ES
ES
IT
IT
CZ
CZ
PL
PL
CN
CN
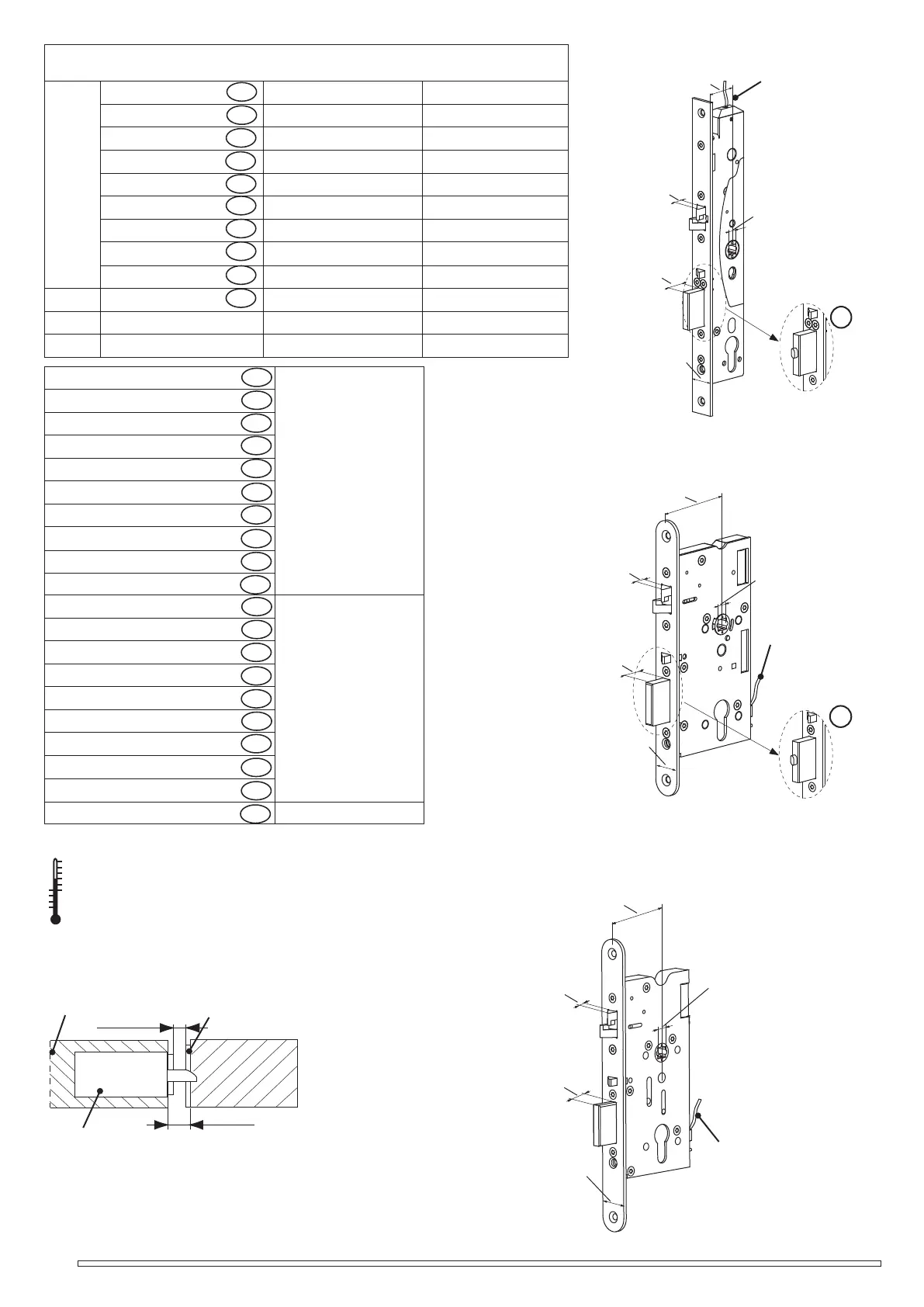
Lock case
24/28 mm
8 x 8 mm/
9 x 9 mm
30/35/40/45 mm
10 mm
20 mm
EA218 (6 m) /
EA219 (10 m)
18 x 0.14 mm2
EL420, EL422, PE420, PE422
EN 14846
-25 °C - +70 °C
Door weight
m=200 kg
8 x 8 mm/
9 x 9 mm
20/24 mm
8 x 8 mm/
9 x 9 mm
55/60/65/80/100 mm
10 mm
20 mm
EA218 (6 m) /
EA219 (10 m) 18
x 0.14 mm2
EL524
EA218 (6 m) /
EA219 (10 m) 18
x 0.14 mm2
EL520, EL522, PE520, PE522
EA321, EA322, EA323,
EA324, EA325, EA326,
EA327, EA328, EA329,
EA330, EA331, EA332
LP780, LP781, EA306
A
B
A
A
A
PE420,
PE422,
!
PE520,
PE522
!
*)
*
)
35 / 40
(
PE420, PE422
)
**
)
65 / 100
(
PE520, PE522
)
**)
2 - 5.5 mm
> 6 mm
8