EasyManua.ls Logo

ACCUZONE MAXICOOL AZ08EWB - Water Drainage

ACCUZONE MAXICOOL AZ08EWB
32 pages
Print Icon
To Next Page IconTo Next Page
To Next Page IconTo Next Page
To Previous Page IconTo Previous Page
To Previous Page IconTo Previous Page
Loading...
Method 1:
Manual
Draining for
Cooling and
Dehumidifier
Mode
Method 2:
Continuous
Draining for
Dehumidifier
Mode
10
Under normal running conditions the unit can
evaporate the condensated water and automati-
cally exhaust it. If there is excess water condensa-
tion inside the unit during normal cooling operation,
the air conditioner stops running (the fan will contin-
ue running) and the WATER FULL indicator illumi-
nates on the top control panel. This in dicates that the
collected water needs to be drained using either of
the following procedures:
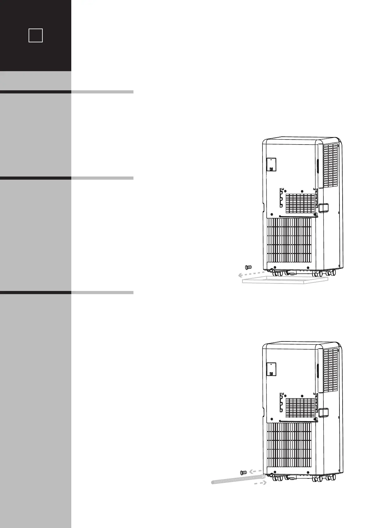
With manual draining, both rear drain spout caps are
tightly sealed during normal operation. The WATER
FULL indicator will illuminate when the internal
water container is filled to the level when it needs to
be emptied.
After turning the unit o, place a shallow pan under
the air conditioner as shown in the diagram. Remove
the lower drain spout rubber cap and the water will
drain from the unit. Replace the rubber cap on to the
drain spout and power the unit on. The cooling func-
tion will continue a few minutes after powering on.
This method is recommended for DEHUMIDIFIER
MODE. To drain water from the unit continuously
you will need to attach the provided drain hose to
the air conditioner. On the back side there is a top
and a bottom drain spout, each capped with a
rubber stopper. After turning unit o, remove the
top drain spout cap and insert the drain hose.
Position the other end of the drain hose to a collec-
tor tray or towards a drain if that is available. (If you
wish to utilize a drain in your home you can connect
your own standard ¾” hose cut to the desired length
needed.)
Keep in mind that the drain hose should not be
kinked or constrict water flow in any way. The drain
hose end and the collector tray must be at a lower
height than the upper drain spout connection to the
hose. Be sure to use a collector container that is deep
enough to hold at least a liter of water as the dehu-
midifying process is quite eective, and you wouldnt
want to empty the tray unnecessarily often!
Water
Drainage