EasyManua.ls Logo

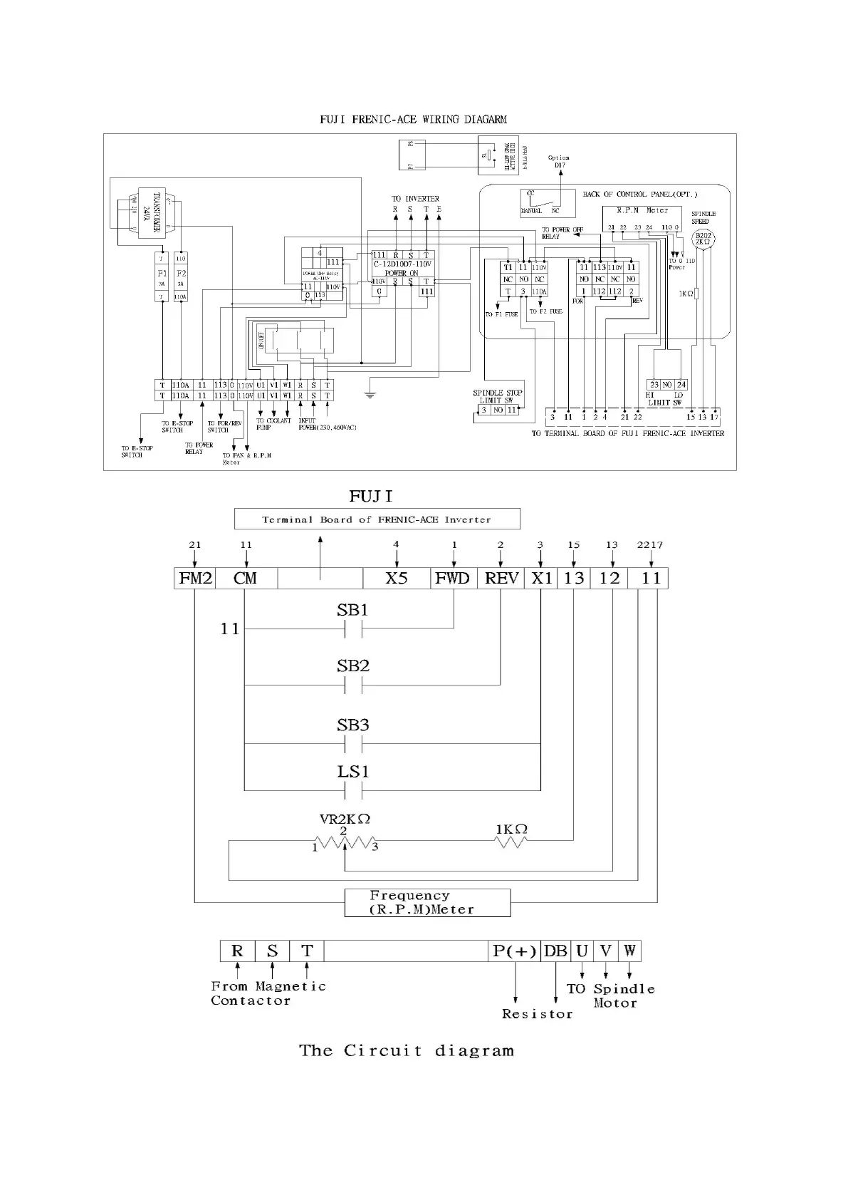
Acer e-mill 3VKH - Page 54

Acer e-mill 3VKH
203 pages
Print Icon
To Next Page IconTo Next Page
To Next Page IconTo Next Page
To Previous Page IconTo Previous Page
To Previous Page IconTo Previous Page
Loading...
- 53 -

Table of Contents

Related product manuals