EasyManua.ls Logo

AEG AGS1921 - Page 69

AEG AGS1921
76 pages
Print Icon
To Next Page IconTo Next Page
To Next Page IconTo Next Page
To Previous Page IconTo Previous Page
To Previous Page IconTo Previous Page
Loading...
Per rimuovere la brina, procedere come segue:
1. Spegnere l'apparecchio.
2. Rimuovere i surgelati, avvolgerli in vari strati di carta di giornale e riporli in un luogo
fresco.
ATTENZIONE
Non toccare il cibo congelato con le mani bagnate. Le mani potrebbero aderire all'alimen-
to congelato.
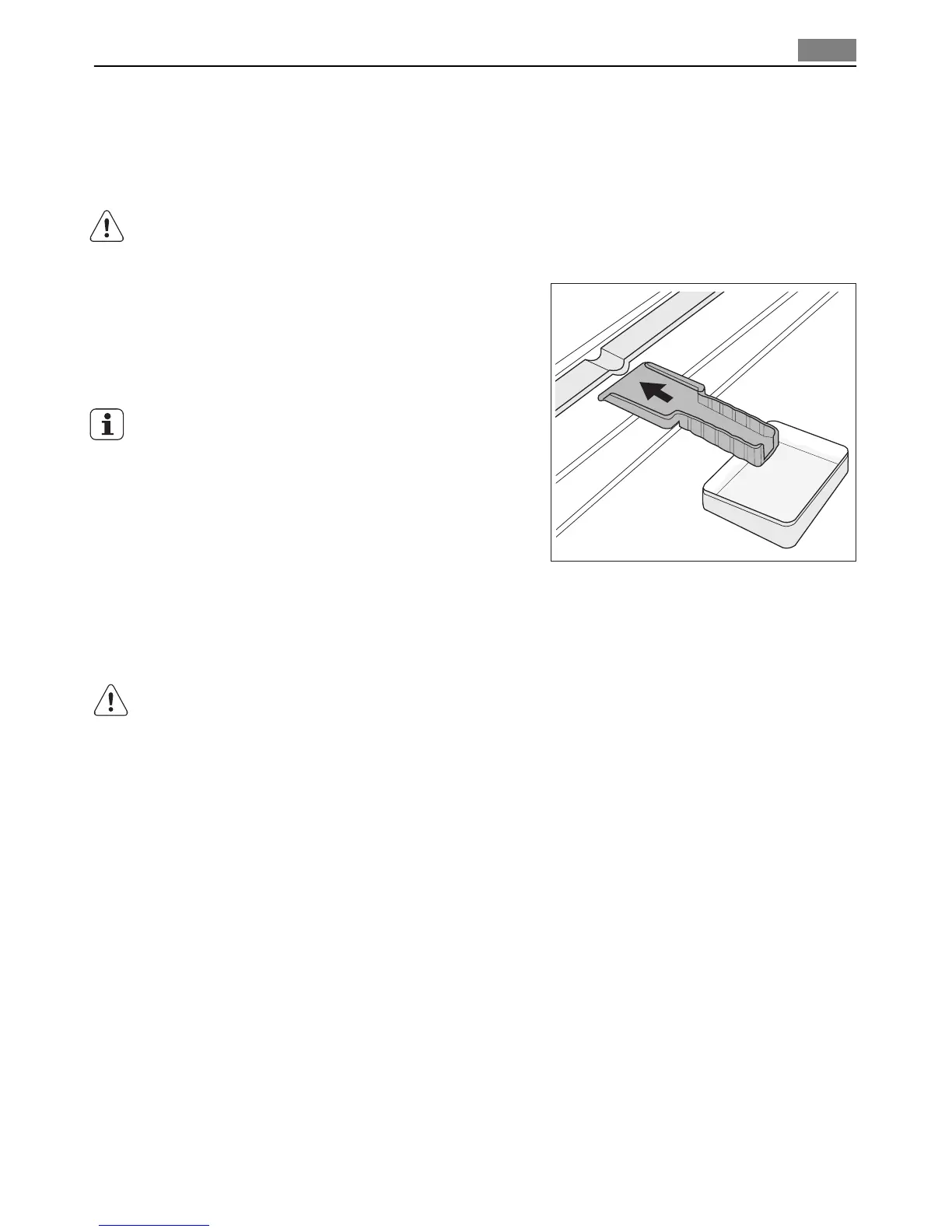
3. Lasciare aperta la porta e inserire il ra-
schietto in plastica nella sede appropria-
ta al centro sul fondo, collocando una ba-
cinella al di sotto per raccogliere l'acqua
di sbrinamento.
Per accelerare il processo di sbrinamento, col-
locare un recipiente di acqua calda nel vano
congelatore. Inoltre rimuovere i pezzi di
ghiaccio che si distaccano prima che lo sbri-
namento sia completo.
4. Una volta completato lo sbrinamento,
asciugare accuratamente l'interno con-
servando il raschietto per l'uso futuro.
5. Accendere l'apparecchio.
6. Dopo due o tre ore, reintrodurre nel vano congelatore gli alimenti precedentemente
rimossi.
Per rimuovere la brina dall'evaporatore, non usare utensili metallici appuntiti che possa-
no danneggiarlo.
Non usare dispositivi elettrici o altri mezzi artificiali non raccomandati dal produttore al-
lo scopo di accelerare il processo di sbrinamento.
Un innalzamento della temperatura dei surgelati durante lo sbrinamento può ridurre la
loro durata di conservazione.
Periodi di inutilizzo
Quando l'apparecchio non è utilizzato per lunghi periodi, adottare le seguenti precauzioni:
scollegare l'apparecchio dalla rete elettrica
rimuovere tutto il cibo
sbrinare
20)
e pulire l'apparecchio e tutti gli accessori
lasciare la/e porta/e socchiusa/e per evitare odori sgradevoli.
Se l'apparecchio rimane acceso, chiedere a qualcuno di controllare ogni tanto per evitare
che il cibo contenuto marcisca in caso di interruzione dell'alimentazione elettrica.
20) Se previsto.
Pulizia e cura
69

Related product manuals