EasyManua.ls Logo

AEG BEE435111M - Cleaning the Door Gasket; Removing Shelf Supports; Aqua Clean Function; Removing and Installing Door

AEG BEE435111M
28 pages
Print Icon
To Next Page IconTo Next Page
To Next Page IconTo Next Page
To Previous Page IconTo Previous Page
To Previous Page IconTo Previous Page
Loading...
Do not use steel wool, acids or abrasive
materials as they can damage the oven
surface. Clean the oven control panel
with the same precautions.
10.3 Cleaning the door gasket
Regularly do a check of the door gasket.
The door gasket is around the frame of
the oven cavity. Do not use the oven if
the door gasket is damaged. Contact an
Authorised Service Centre.
To clean the door gasket, refer to the
general information about cleaning.
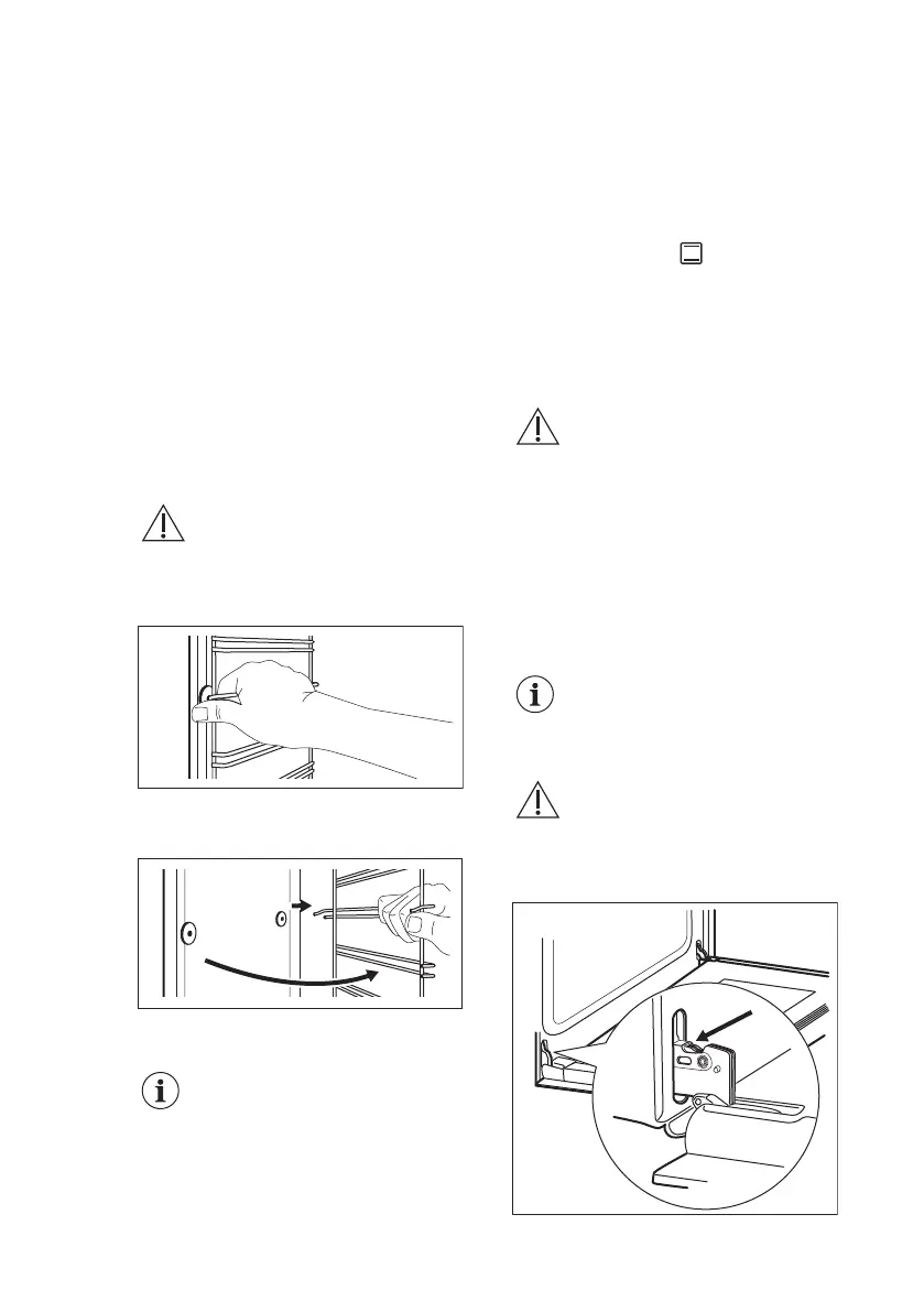
10.4 Removing the shelf
supports
To clean the oven, remove the shelf
supports.
CAUTION!
Be careful when you remove
the shelf supports.
1. Pull the front of the shelf support
away from the side wall.
2. Pull the rear end of the shelf support
away from the side wall and remove
it.
2
1
Install the removed accessories in the
opposite sequence.
The retaining pins on the
telescopic runners must
point to the front.
10.5 Aqua Clean
This cleaning procedure uses humidity to
help remove remaining fat and food
particles from the oven.
1. Put 300 ml of water into the cavity
embossment at the bottom of the
oven.
2. Set the function: .
3. Set the temperature to 90 °C.
4. Let the oven operate for 30 minutes.
5. Turn off the oven and let it cool
down.
6. When the oven is cool, clean it with a
soft cloth.
WARNING!
Make sure that the oven
is cool before you touch
it. There is a risk of
burns.
10.6 Removing and installing
door
The oven door has two glass panels. You
can remove the oven door and the
internal glass panel to clean it.
The oven door may close if
you try to remove the
internal glass panel before
you remove the oven door.
CAUTION!
Do not use the oven without
the internal glass panel.
1. Open the door fully and hold both
hinges.
www.aeg.com
22

Related product manuals