EasyManua.ls Logo

AEG FAV55BVI3P - Programme Selection

AEG FAV55BVI3P
32 pages
Print Icon
To Next Page IconTo Next Page
To Next Page IconTo Next Page
To Previous Page IconTo Previous Page
To Previous Page IconTo Previous Page
Loading...
Indicator Description
Drying phase indicator. It is on when you select a programme with the dry‐
ing phase. It flashes when the drying phase operates. Refer to "Pro‐
gramme selection".
5. PROGRAMME SELECTION
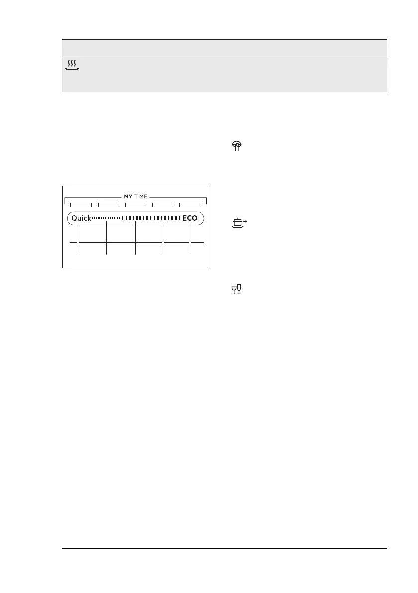
5.1 MY TIME
Using MY TIME selection bar, you can
select a suitable wash cycle based on
programme duration, ranging from 30
minutes to four hours.
CA B D E
A. Quick is the shortest programme
(30min) suitable for washing a load
with fresh and light soil.
B. 1h is a programme suitable for
washing a load with fresh and lightly
dried-on soil.
C. 1h 30min is a programme suitable
for washing and drying normally
soiled items.
D. 2h 40min is a programme suitable
for washing and drying heavily soiled
items.
E. ECO is the longest programme (4h)
offering the most efficient use of
energy and water consumption for
crockery and cutlery with normal soil.
This is the standard programme for
test institutes.
1)
5.2 EXTRAS
You can adjust the programme selection
to your needs by activating EXTRAS.
ExtraSilent
ExtraSilent allows to reduce the noise
generated by the appliance. When the
option is activated, the wash pump works
quietly at a lower speed. Due to the low
speed, the programme duration is longer.
ExtraPower
ExtraPower improves the washing
results of the selected programme. The
option increases the wash temperature
and duration.
GlassCare
GlassCare provides special care for a
delicate load. The option prevents rapid
changes in the wash temperature of the
selected programme and reduces it to
45 °C. This protects glassware in
particular from damaging.
5.3 AUTO Sense
The AUTO Sense program automatically
adjusts the wash cycle to the type of
load.
The appliance senses the degree of soil
and the amount of dishes in the baskets.
It adjusts the temperature and quantity of
water as well as the wash duration.
1)
This programme is used to assess compliance with the Ecodesign Comission Regulation (EU)
2019/2022.
www.aeg.com8

Related product manuals