EasyManua.ls Logo

AEG FFB62407ZM - Bedieningspaneel

AEG FFB62407ZM
Print Icon
To Next Page IconTo Next Page
To Next Page IconTo Next Page
To Previous Page IconTo Previous Page
To Previous Page IconTo Previous Page
Loading...
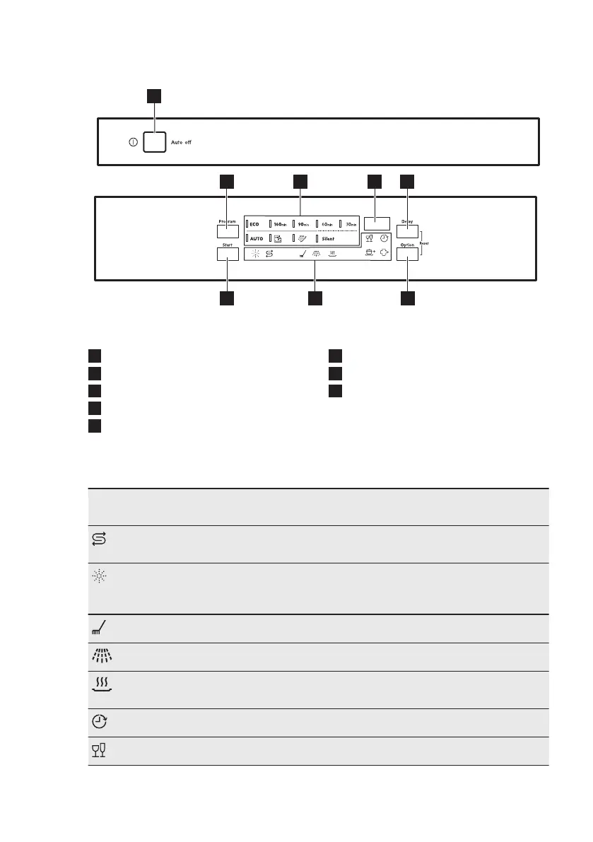
4. BEDIENINGSPANEEL
1
2 4 5
68
3
7
1
Aan/uit-toets
2
Program-toets
3
Programma-controlelampjes
4
Display
5
Delay-toets
6
Option-toets
7
Controlelampjes
8
Start-toets
4.1 Indicatielampjes
Indicatie‐
lampje
Beschrijving
Indicatielampje zout. Dit is aan als het zoutreservoir bijgevuld dient te wor‐
den. Het is altijd uit als het programma in werking is.
Indicatielampje glansspoelmiddel. Dit is aan als het glansspoelmiddeldo‐
seerbakje bijgevuld dient te worden. Het is altijd uit als het programma in
werking is.
Indicatielampje van wasfase. Dit is aan wanneer de wasfase loopt.
Indicatielampje spoelfase. Dit is aan wanneer de spoelfase loopt.
Indicatielampje droogfase. Dit is aan wanneer u een programma selec‐
teert met de droogfase. Het gaat knipperen wanneer de droogfase loopt.
Indicatielampje Delay. Gaat aan als u de starttijdkeuze inschakelt.
Indicatielampje GlassCare.
www.aeg.com8

Related product manuals