EasyManua.ls Logo

AEG FFB64627ZW - Bandeau de Commande

AEG FFB64627ZW
56 pages
Print Icon
To Next Page IconTo Next Page
To Next Page IconTo Next Page
To Previous Page IconTo Previous Page
To Previous Page IconTo Previous Page
Loading...
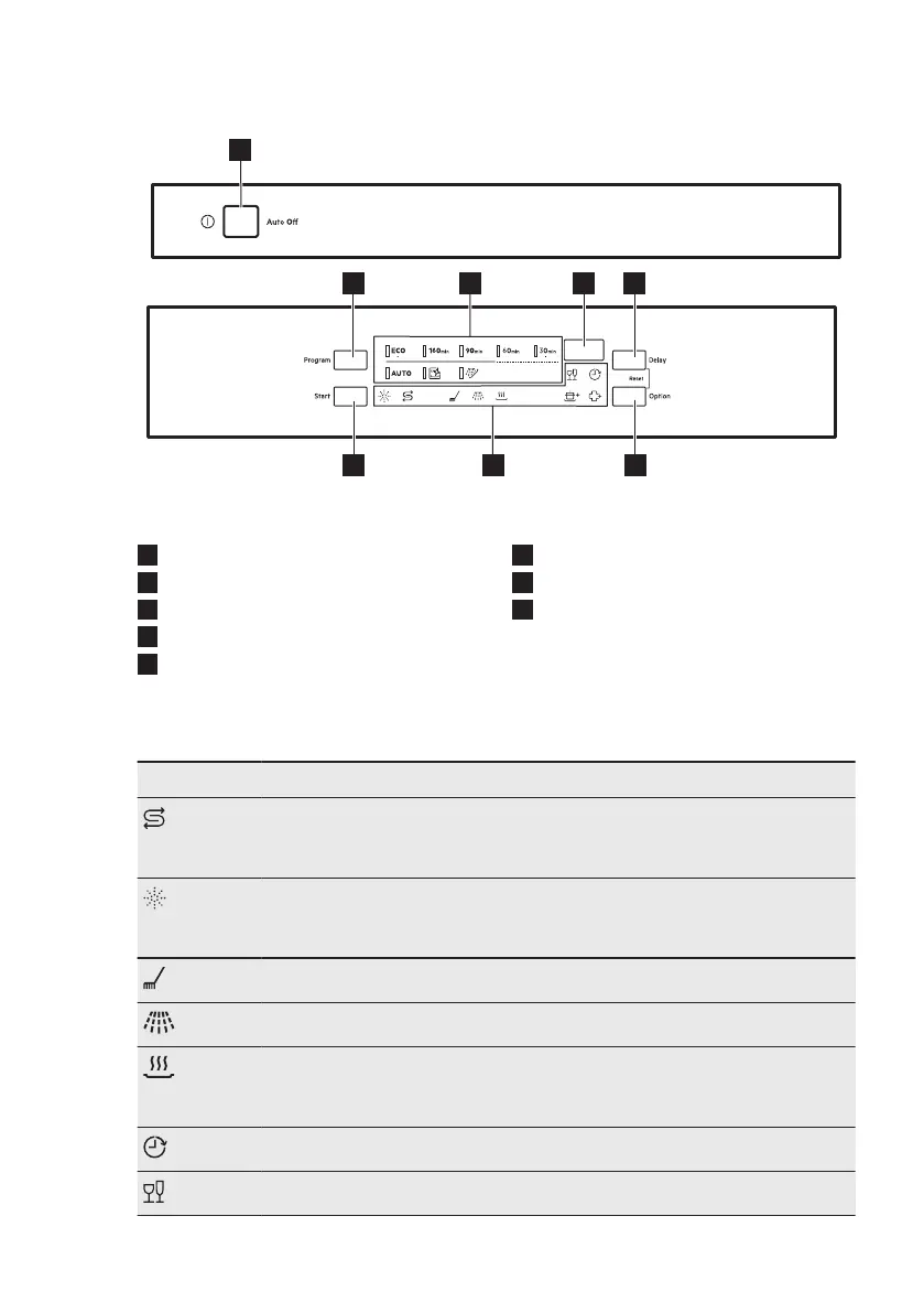
4. BANDEAU DE COMMANDE
1
68 7
2 4 53
1
Touche marche/arrêt
2
Touche Program
3
Voyants de programme
4
Afficheur
5
Touche Delay
6
Touche Option
7
Voyants
8
Touche Start
4.1 Voyants
Voyant Description
Voyant du sel régénérant. Il s’allume lorsque le réservoir de sel régéné‐
rant doit être rempli. Il n’est jamais allumé lorsque le programme est en
cours.
Voyant du liquide de rinçage. Il s’allume lorsque le distributeur de liquide
de rinçage doit être rempli. Il n’est jamais allumé lorsque le programme
est en cours.
Voyant de phase de lavage. Il s’allume au cours de la phase de lavage.
Voyant Phase de rinçage. Il s’allume au cours de la phase de rinçage.
Voyant de phase de séchage. Il est allumé lorsque vous sélectionnez un
programme avec la phase de séchage. Il clignote au cours de la phase de
séchage.
Voyant Delay. Il s’allume lorsque vous activez le départ différé.
Voyant GlassCare.
www.aeg.com32

Related product manuals