EasyManua.ls Logo

AEG FFB73747PM - Panel de Mandos

AEG FFB73747PM
56 pages
Print Icon
To Next Page IconTo Next Page
To Next Page IconTo Next Page
To Previous Page IconTo Previous Page
To Previous Page IconTo Previous Page
Loading...
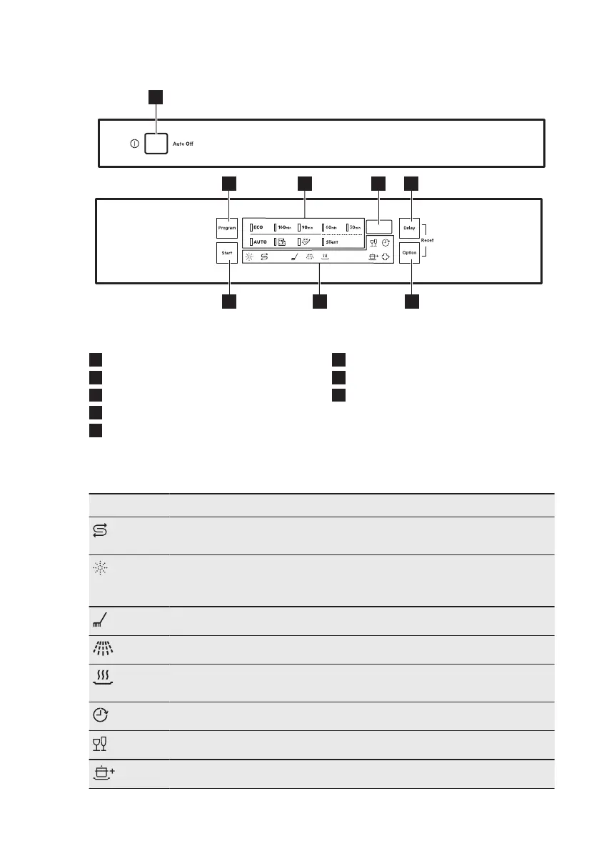
4. PANEL DE MANDOS
1
2 4 53
68 7
1
Botón de encendido/apagado
2
Program botón táctil
3
Indicadores de programa
4
Pantalla
5
Delay botón táctil
6
Option botón táctil
7
Indicadores
8
Start botón táctil
4.1 Indicadores
Indicador Descripción
Indicador de sal. Se enciende cuando hay que rellenar el depósito de sal.
Siempre está apagado mientras el programa está en marcha.
Indicador de abrillantador. Se enciende cuando hay que rellenar el dosifi‐
cador de abrillantador. Siempre está apagado mientras el programa está
en marcha.
Indicador de la fase de lavado. Se enciende durante la fase de lavado.
Indicador de fase de aclarado. Se enciende durante la fase de aclarado.
Indicador de fase de secado. Se activa cuando hay un programa con la
fase de secado seleccionado. Parpadea durante la fase de secado.
Indicador de retardo. Se enciende cuando se activa el inicio diferido.
Indicador GlassCare.
Indicador ExtraPower.
www.aeg.com34

Related product manuals