EasyManua.ls Logo

AEG FSE52607P - Product Description

AEG FSE52607P
60 pages
Print Icon
To Next Page IconTo Next Page
To Next Page IconTo Next Page
To Previous Page IconTo Previous Page
To Previous Page IconTo Previous Page
Loading...
has been discontinued: door hinge
and seals, other seals, spray arms,
drain filters, interior racks and plastic
peripherals such as baskets and lids.
Concerning the lamp(s) inside this
product and spare part lamps sold
separately: These lamps are intended
to withstand extreme physical
conditions in household appliances,
such as temperature, vibration,
humidity, or are intended to signal
information about the operational
status of the appliance. They are not
intended to be used in other
applications and are not suitable for
household room illumination.
2.6 Disposal
WARNING!
Risk of injury or suffocation.
Disconnect the appliance from the
mains supply.
Cut off the mains cable and discard it.
Remove the door catch to prevent
children and pets to get closed in the
appliance.
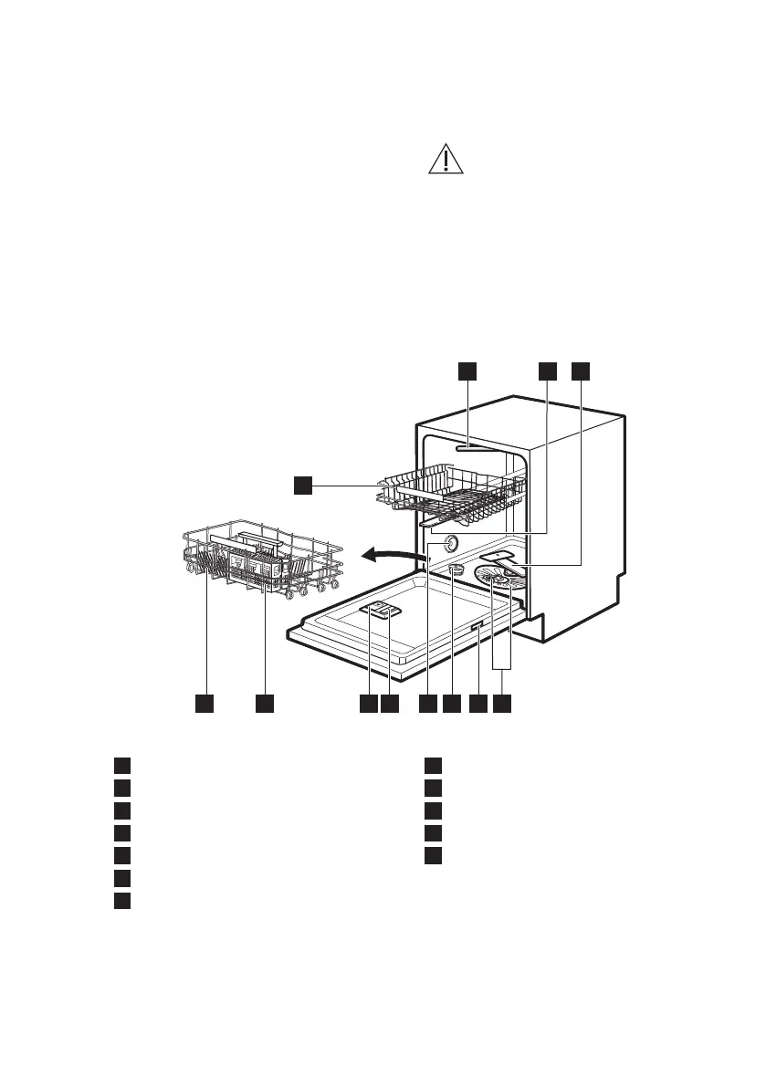
3. PRODUCT DESCRIPTION
5
4
67
9
8
12
2
3
1
11 10
1
Ceiling spray arm
2
Upper spray arm
3
Lower spray arm
4
Filters
5
Rating plate
6
Salt container
7
Air vent
8
Rinse aid dispenser
9
Detergent dispenser
10
Cutlery basket
11
Lower basket
12
Upper basket
3.1 Beam-on-Floor
The Beam-on-Floor is a light that is
displayed on the floor below the
appliance door.
A red light comes on when a
programme starts. It remains on for
the duration of the programme.
A green light comes on when the
programme is complete.
www.aeg.com6

Related product manuals