EasyManua.ls Logo

AEG FSE63600P - Description de Lappareil

AEG FSE63600P
Print Icon
To Next Page IconTo Next Page
To Next Page IconTo Next Page
To Previous Page IconTo Previous Page
To Previous Page IconTo Previous Page
Loading...
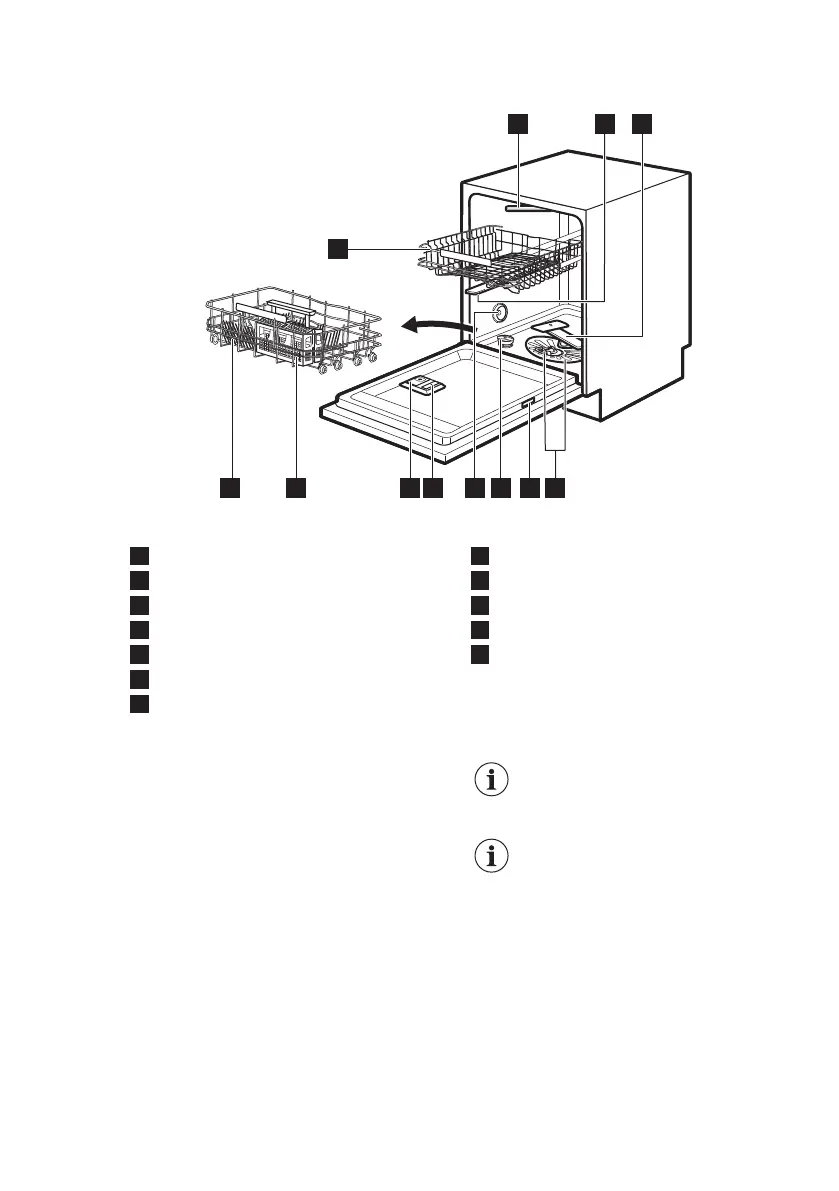
3. DESCRIPTION DE L'APPAREIL
5
4
67
9
8
12
2
3
1
11 10
1
Bras d'aspersion supérieur
2
Bras d'aspersion supérieur
3
Bras d'aspersion inférieur
4
Filtres
5
Plaque signalétique
6
Réservoir de sel régénérant
7
Fente d'aération
8
Distributeur de liquide de rinçage
9
Distributeur de produit de lavage
10
Panier à couverts
11
Panier inférieur
12
Panier supérieur
3.1 Beam-on-Floor
Le faisceau Beam-on-Floor est une
lumière projetée sur le sol, sous la porte
de l'appareil.
Lorsque le programme démarre, le
faisceau rouge s'allume et reste
allumé pendant toute la durée du
programme.
Lorsque le programme est terminé, le
faisceau devient vert.
En cas de dysfonctionnement de
l'appareil, le faisceau rouge clignote.
Le faisceau Beam-on-Floor
s'éteint lorsque vous arrêtez
l'appareil.
La projection au sol peut
être partiellement visible
lorsque le mode AirDry est
activé durant la phase de
séchage. Pour savoir si le
cycle est terminé, regardez
le bandeau de commande.
FRANÇAIS 51

Related product manuals