EasyManua.ls Logo

AEG FSE63700P - Product Description

AEG FSE63700P
Print Icon
To Next Page IconTo Next Page
To Next Page IconTo Next Page
To Previous Page IconTo Previous Page
To Previous Page IconTo Previous Page
Loading...
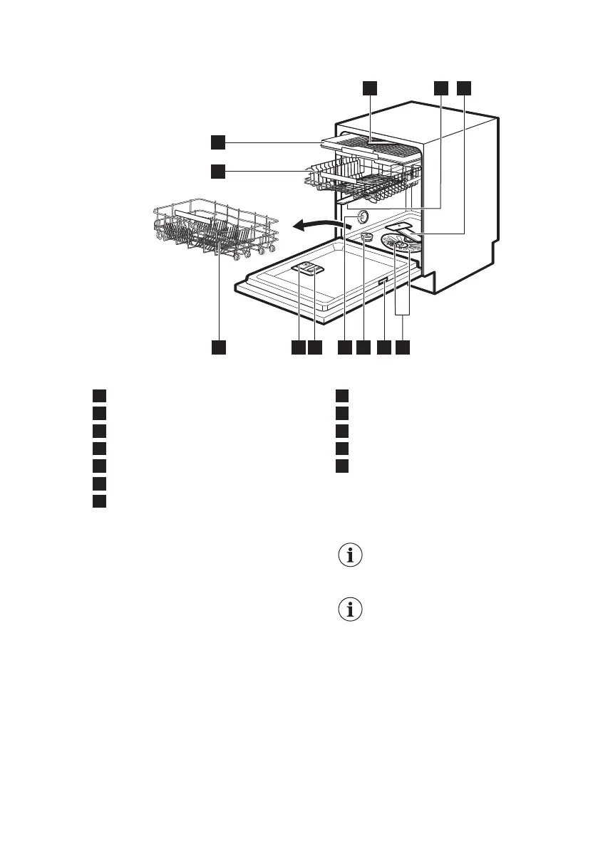
3. PRODUCT DESCRIPTION
5
4
10
9
67
11
12
2
3
1
8
1
Top spray arm
2
Upper spray arm
3
Lower spray arm
4
Filters
5
Rating plate
6
Salt container
7
Air vent
8
Rinse aid dispenser
9
Detergent dispenser
10
Lower basket
11
Upper basket
12
Cutlery drawer
3.1 Beam-on-Floor
The Beam-on-Floor is a light that is
displayed on the floor below the
appliance door.
When the programme starts, a red
light comes on and stays on for the
duration of the programme.
When the programme is completed, a
green light comes on.
When the appliance has a
malfunction, the red light flashes.
The Beam-on-Floor is off
when the appliance is
deactivated.
When AirDry is activated
during the drying phase, the
projection on the floor may
not be completely visible. To
see if the cycle has ended,
check the control panel.
ENGLISH 29

Related product manuals