EasyManua.ls Logo

AEG FSE63717P - Gerätebeschreibung

AEG FSE63717P
60 pages
Print Icon
To Next Page IconTo Next Page
To Next Page IconTo Next Page
To Previous Page IconTo Previous Page
To Previous Page IconTo Previous Page
Loading...
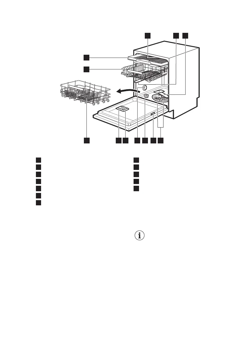
3. GERÄTEBESCHREIBUNG
5
4
10
9
67
11
12
2
3
1
8
1
Deckensprüharm
2
Oberer Sprüharm
3
Unterer Sprüharm
4
Siebe
5
Typenschild
6
Salzbehälter
7
Entlüftung
8
Klarspülmittel-Dosierer
9
Reinigungsmittelfach
10
Unterkorb
11
Oberkorb
12
Besteckschublade
3.1 Beam-on-Floor
Der Beam-on-Floor ist ein Lichtstrahl, der
unterhalb der Gerätetür auf den Boden
projiziert wird.
Am Programmstart leuchtet eine rotes
Licht. Es leuchtet während der
gesamten Dauer des Spülprogramms.
Am Programmende leuchtet ein
grünes Licht.
Das rote Licht blinkt im Fall einer
Gerätestörung.
Nach dem Abschalten des
Gerätes erlischt der Beam-
on-Floor.
www.aeg.com34

Related product manuals