EasyManua.ls Logo

AEG FSE63CBC - Produktbeschreibung

AEG FSE63CBC
Print Icon
To Next Page IconTo Next Page
To Next Page IconTo Next Page
To Previous Page IconTo Previous Page
To Previous Page IconTo Previous Page
Loading...
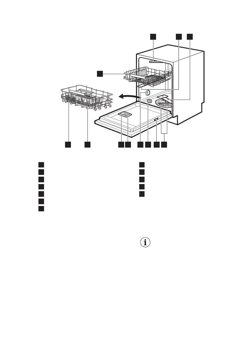
3. PRODUKTBESCHREIBUNG
5
4
67
9
8
12
2
3
1
11 10
1
Deckensprüharm
2
Oberer Sprüharm
3
Unterer Sprüharm
4
Siebe
5
Typenschild
6
Salzbehälter
7
Entlüftung
8
Klarspülmittel-Dosierer
9
Reinigungsmittel-Spender
10
Besteckkorb
11
Unterer Korb
12
Oberer Korb
3.1 Beam-on-Floor
Der Beam-on-Floor ist ein Lichtstrahl, der
unterhalb der Gerätetür auf den Boden
projiziert wird.
Am Programmstart leuchtet eine rotes
Licht. Es leuchtet während der
gesamten Dauer des Spülprogramms.
Am Programmende leuchtet ein
grünes Licht.
Das rote Licht blinkt im Fall einer
Gerätestörung.
Nach dem Abschalten des
Gerätes erlischt der Beam-
on-Floor.
DEUTSCH 7

Related product manuals