EasyManua.ls Logo

AEG FSS63400P - Care and Cleaning

AEG FSS63400P
24 pages
Print Icon
To Next Page IconTo Next Page
To Next Page IconTo Next Page
To Previous Page IconTo Previous Page
To Previous Page IconTo Previous Page
Loading...
10.4 Loading the baskets
Only use the appliance to wash items
that are dishwasher-safe.
Do not put in the appliance items
made of wood, horn, aluminium,
pewter and copper.
Do not put in the appliance items that
can absorb water (sponges,
household cloths).
Remove remaining food from the
items.
Make soft the remaining burned food
on the items.
Put hollow items (cups, glasses and
pans) with the opening down.
Make sure that cutlery and dishes do
not bond together. Mix spoons with
other cutlery.
Make sure that glasses do not touch
other glasses.
Put small items in the cutlery basket.
Put light items in the upper basket.
Make sure that the items do not
move.
Make sure that the spray arm can
move freely before you start a
programme.
10.5 Before starting a
programme
Make sure that:
The filters are clean and correctly
installed.
The cap of the salt container is tight.
The spray arms are not clogged.
There is dishwasher salt and rinse aid
(unless you use multi- tablets).
The position of the items in the
baskets is correct.
The programme is applicable for the
type of load and for the degree of
soil.
The correct quantity of detergent is
used.
10.6 Unloading the baskets
1. Let the tableware cool down before
you remove it from the appliance.
Hot items can be easily damaged.
2. First remove items from the lower
basket, then from the upper basket.
At the end of the program
water can still remain on the
sides and on the door of the
appliance.
11. CARE AND CLEANING
WARNING!
Before maintenance,
deactivate the appliance and
disconnect the mains plug
from the main socket.
Dirty filters and clogged
spray arms decrease the
washing results. Make a
check regularly and, if
necessary, clean them.
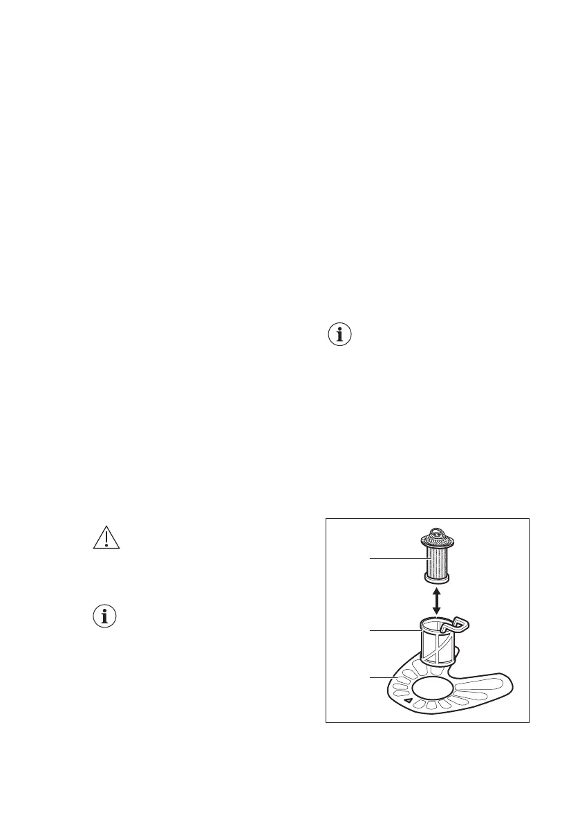
11.1 Cleaning the filters
The filter system is made of 3 parts.
C
B
A
1. Turn the filter (B) counterclockwise
and remove it.
ENGLISH
17

Related product manuals