EasyManua.ls Logo

AEG GS60AIM - Gerätebeschreibung

AEG GS60AIM
52 pages
Print Icon
To Next Page IconTo Next Page
To Next Page IconTo Next Page
To Previous Page IconTo Previous Page
To Previous Page IconTo Previous Page
Loading...
Drehen Sie sofort den Wasserhahn zu
und ziehen Sie den Netzstecker aus
der Steckdose, wenn der
Wasserzulaufschlauch beschädigt ist.
Wenden Sie sich für den Austausch
des Wasserzulaufschlauchs an den
autorisierten Kundendienst.
2.4 Gebrauch
Setzen oder stellen Sie sich niemals
auf die geöffnete Gerätetür.
Geschirrspüler-Reinigungsmittel sind
gefährlich. Beachten Sie die
Sicherheitsanweisungen auf der
Reinigungsmittelverpackung.
Trinken Sie nicht das Wasser aus dem
Gerät und verwenden Sie es nicht
zum Spielen.
Nehmen Sie kein Geschirr aus dem
Gerät, bevor das Programm beendet
ist. Auf dem Geschirr kann noch etwas
Reinigungsmittel haften.
Es kann heißer Dampf aus dem Gerät
austreten, wenn Sie die Tür während
des Ablaufs eines Programms öffnen.
Laden Sie keine entflammbaren
Produkte oder Gegenstände, die mit
entflammbaren Produkten benetzt
sind, in das Gerät und stellen Sie
solche nicht in die Nähe oder auf das
Gerät.
2.5 Service
Wenden Sie sich zur Reparatur des
Geräts an einen autorisierten
Kundendienst.
Verwenden Sie ausschließlich
Originalersatzteile.
2.6 Entsorgung
WARNUNG!
Verletzungs- und
Erstickungsgefahr.
Trennen Sie das Gerät von der
Stromversorgung.
Schneiden Sie das Netzkabel ab, und
entsorgen Sie es.
Entfernen Sie das Türschloss, um zu
verhindern, dass sich Kinder oder
Haustiere in dem Gerät einschließen.
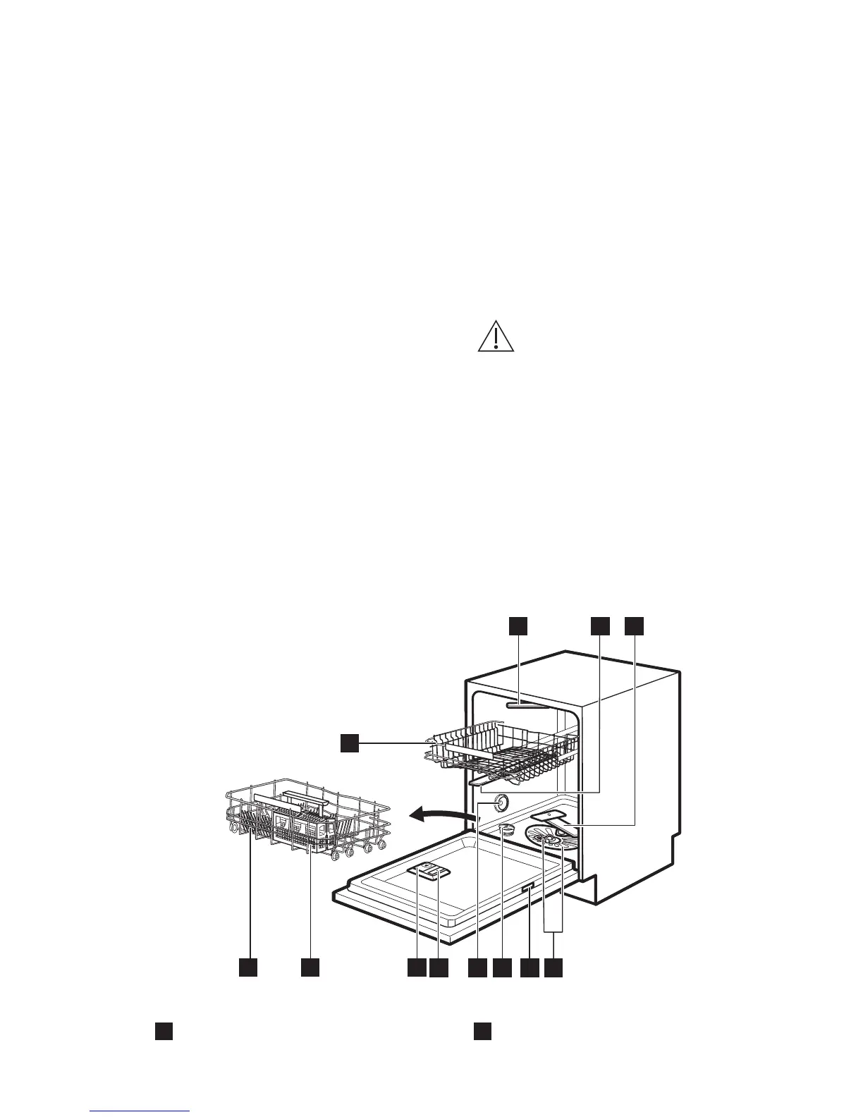
3. GERÄTEBESCHREIBUNG
5
4
67
9
8
12
2
3
1
11 10
1
Oberer Sprüharm
2
Mittlerer Sprüharm
www.aeg.com30

Related product manuals