EasyManua.ls Logo

AEG GS60AIM - Bedienfeld

AEG GS60AIM
52 pages
Print Icon
To Next Page IconTo Next Page
To Next Page IconTo Next Page
To Previous Page IconTo Previous Page
To Previous Page IconTo Previous Page
Loading...
3
Unterer Sprüharm
4
Siebe
5
Typenschild
6
Salzbehälter
7
Entlüftung
8
Klarspülmittel-Dosierer
9
Reinigungsmittelfach
10
Besteckkorb
11
Unterkorb
12
Oberkorb
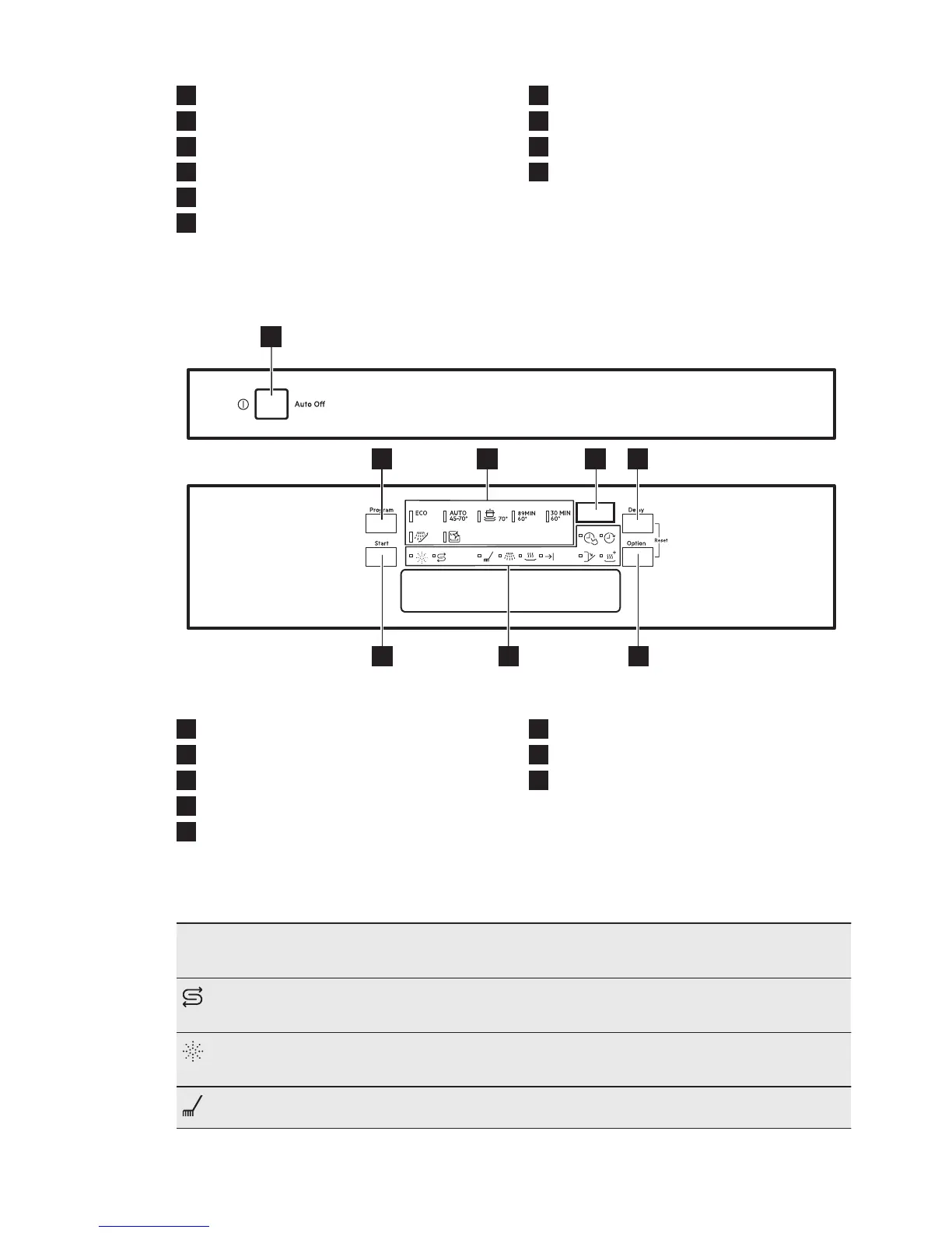
4. BEDIENFELD
1
2 4 5
68
3
7
1
Taste „Ein/Aus“
2
Program Taste
3
Programmkontrolllampen
4
Display
5
Delay Taste
6
Option Taste
7
Kontrolllampen
8
Start Taste
4.1 Kontrolllampen
Kontrolllam-
pe
Beschreibung
Kontrolllampe Salz. Leuchtet, wenn der Salzbehälter nachgefüllt werden
muss. Sie erlischt während des Programmbetriebs.
Kontrolllampe Klarspülmittel. Leuchtet, wenn der Klarspülmittel-Dosierer
nachgefüllt werden muss. Sie erlischt während des Programmbetriebs.
Spülgang Leuchtet während des Spülgangs auf.
DEUTSCH 31

Related product manuals