EasyManua.ls Logo

AEG IDK84452IB - Page 76

AEG IDK84452IB
200 pages
Print Icon
To Next Page IconTo Next Page
To Next Page IconTo Next Page
To Previous Page IconTo Previous Page
To Previous Page IconTo Previous Page
Loading...
76
Bridge-Funktion
Diese Funktion verbindet zwei übereinanderliegende Kochzonen
miteinander. Sie funktionieren dann wie eine Kochzone. Diese
Funktion erlaubt ein gleichmäßiges Garen mit Backformen und
Töpfen von größeren Abmessungen.
Es ist möglich, den vorderen Kochbereich “Master” in Kombination
mit dem entsprechenden hinteren Nebenbereich” zu verwenden
(konsultieren Sie, um zu prüfen, auf welchen Bereichen diese
Funktion vorgesehen ist, den Teil der Abbildungen dieses
Handbuchs).
Um die Bridge-Funktion zu aktivieren:
- gleichzeitig die beiden Kochbereiche, die man zu
verwenden wünscht, wählen
- die Anzeige Bridge (20) des Kochbereichs “Nebenbereich"
leuchtet auf
- durch die Auswahlleiste (3) des Kochbereichs “Master" ist es
möglich, die Betriebsstufe einzustellen
- um die Bridge-Funktion zu deaktivieren, ist es ausreichend, die
gleiche Prozedur der Aktivierung zu wiederholen
Temperatur-Manager
Temperature Manager ist eine Funktion, die erlaubt, die
voreingestellte Temperatur geeigneter einzustellen, um die
gewünschte Art von Ergebnis zu erhalten (konsultieren Sie die
Tabelle Temperatur-Manager am Ende dieses Kapitels).
Wählen Sie den gewünschten Kochbereich.
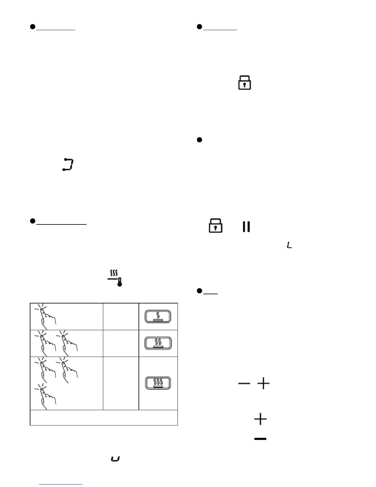
• Drücken Sie ein- oder mehrmals
(4) , um die geeignetste
Stufe zu wählen:
Schmelzen
*
Erwärmen*
Köcheln*
* Konsultieren Sie die Tabelle Temperature Manager am Ende
dieses Kapitels.
• Drücken Sie erneut, um abzuschalten.
Auf dem Display des Kochbereichs, der mit Temperature Manager
in Betrieb ist, erscheint das Symbol
Tastensperre
Die Tastensperre erlaubt, die Einstellungen des Felds zu
blockieren, um unbeabsichtigte Änderungen zu verhindern
und dabei die bereits eingestellten Funktionen aktiv zu lassen.
Aktivierung:
• Drücken Sie
(9)
• die LED auf der Taste leuchtet zur Anzeige der erfolgten
Aktivierung auf
Wiederholen Sie den Vorgang zur Deaktivierung
Kindersicherung
Die Kindersicherung verhindert, dass Kinder unabsichtlich die
Kochbereiche und das Gebläse einschalten und versperrt die
Aktivierung jeglicher Funktion.
Die Kindersicherung kann nur bei eingeschaltetem Kochfeld,
aber mit abgeschalteten Kochbereichen (und Gebläse)
aktiviert werden.
Aktivierung:
• entfernen Sie eventuell auf dem Kochfeld vorhandene
Töpfe
(9) und (10) gleichzeitig drücken und halten,
ein akustisches Signal zeigt an, dass die Funktuion
eingeschaltet ist und es erscheint "
" auf den Display (13)
und (14).
Wiederholen Sie den Vorgang zur Deaktivierung
Timer
Die Funktion Timer ist ein Countdown, den man, auch
gleichzeitig, auf jedem Kochbereich (und Bereich des
Gebläses) einstellen kann.
Am Ende der eingestellten Zeit schalten sich die
Kochbereiche (oder Bereiche des Gebläses) automatisch ab
und der Benutzer wird mit einem entsprechenden akustischen
Signal darauf hingewiesen.
Aktivierung/Einstellung der Funktion Timer für das
Kochfeld
• Wählen Sie den gewünschten Kochbereich (Leistung0).
• Drücken Sie
(8) zum Zugang zur Funktion
Timer
• Die Dauer des Timers einstellen:
den Wahlschalter
drücken, um die Zeit der
automatischen Abschaltung zu erhöhen
den Wahlschalter
drücken, um die Zeit der
automatischen Abschaltung zu verringern