EasyManua.ls Logo

AEG IKK86683FB - Page 67

AEG IKK86683FB
112 pages
Print Icon
To Next Page IconTo Next Page
To Next Page IconTo Next Page
To Previous Page IconTo Previous Page
To Previous Page IconTo Previous Page
Loading...
bandeau de sélection. La zone centrale
est indiquée par les voyants A, B, C, D
visibles sur le troisième bandeau de
sélection. La zone avant droite est
indiquée par le voyant C visible sur le
quatrième bandeau de sélection.
Il n’est pas possible d’utiliser
plus de 4 récipients dans
cette combinaison.
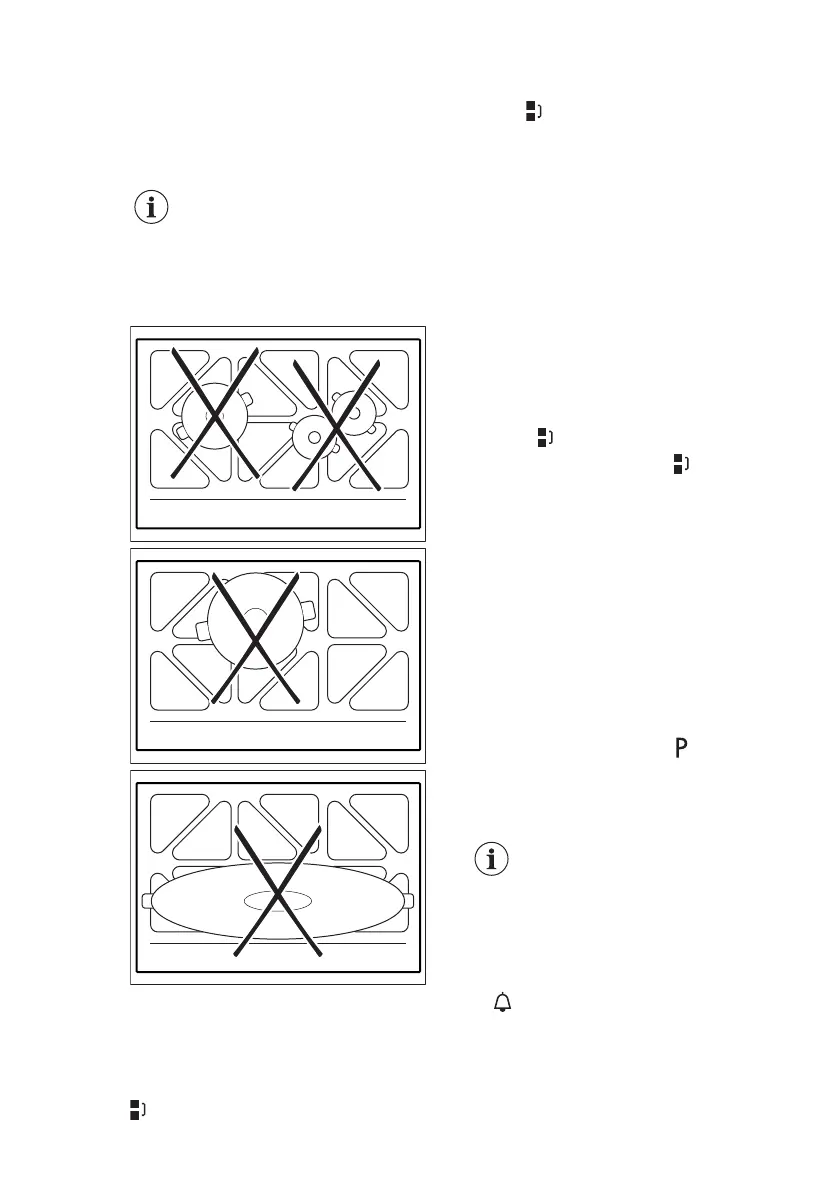
5.7 Mauvaises positions du
récipient
5.8 Bridge
Si vous placez un récipient sur deux
zones de cuisson standard ou plus et
que le niveau de cuisson est réglé sur 0,
apparaît.
Si la configuration par défaut n'est pas
adaptée à votre récipient, appuyez sur la
touche à plusieurs reprises pour
choisir manuellement la configuration
souhaitée.
Les modes suivants sont disponibles :
Central
Vertical
Horizontal
Zone de cuisson standard
Les voyants de la zone de cuisson
changent automatiquement pour indiquer
les combinaisons possibles.
Tous les triangles seuls d’un mode sont
contrôlés par un bandeau de sélection
qui s’allume.
Lorsque vous modifiez le niveau de
cuisson,
disparaît. Lorsque le niveau
de cuisson est réglé sur 0, s’allume de
nouveau.
5.9 PowerBoost
Cette fonction donne plus de puissance
à la zone de cuisson à induction
appropriée, en fonction de la taille du
récipient. La fonction peut être activée
uniquement pendant une durée limitée.
La fonction n’est pas disponible quand
Bridge est activé en mode Central,
Vertical ou Horizontal.
Pour activer la fonction pour la zone
de cuisson : appuyez sur . Le
symbole devient rouge.
La fonction se désactive
automatiquement.
Pour connaître les valeurs
de durée maximales,
reportez-vous au chapitre
« Caractéristiques
techniques ».
5.10 Minuteur
Minuteur à rebours
Vous pouvez utiliser cette fonction pour
régler la durée d’une seule session de
cuisson.
FRANÇAIS 67

Related product manuals