EasyManua.ls Logo

AEG MBE2658SE - Product Description

AEG MBE2658SE
28 pages
Print Icon
To Next Page IconTo Next Page
To Next Page IconTo Next Page
To Previous Page IconTo Previous Page
To Previous Page IconTo Previous Page
Loading...
11
ENGLISHENGLISH
Check to make sure the following
accessories are provided:
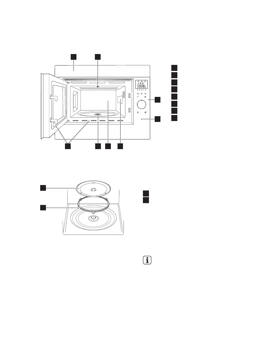
Turntable
Turntable support
Place the turntable support on the floor
of the cavity.
Then place the turntable on the
turntable support.
To avoid turntable damage, ensure
dishes or containers are lifted clear of
the turntable rim when removing them
from the oven.
When you order accessories, please
mention two items: part name and
model name to your dealer or an
authorised ELECTROLUX service
agent.
3.1 Microwaveoven
Front trim
Oven light
Control panel
Door open key
Waveguide cover
Oven cavity
Seal packing
Door seals and sealing
surfaces
1
2
3
4
5
6
7
8
1 2
3
4
678
3.2 Accessories
1
2
1
2
5
3. PRODUCT DESCRIPTION
1_AEG_EN240_MS_BASE_AL28UICTO_SAFETYMAY19_Layout 1 27/09/2018 08:15 Page 11

Related product manuals