EasyManua.ls Logo

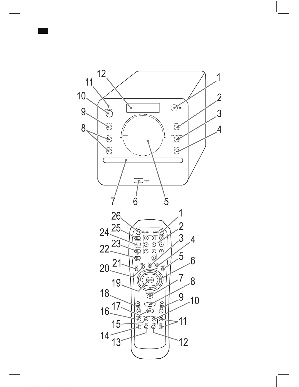
AEG MC 4457 - Overview of Controls

AEG MC 4457
Print Icon
To Next Page IconTo Next Page
To Next Page IconTo Next Page
To Previous Page IconTo Previous Page
To Previous Page IconTo Previous Page
Loading...
Übersicht der Bedienelemente
3
Overzicht van de bedieningselementen
Liste des diérents éléments de commande
Indicación de los elementos demanejo
Elementi di comando
Location of Controls
Abb. 1 / Fig. 1
Abb. 2 / Fig. 2

Related product manuals