EasyManua.ls Logo

Aerco B+05 - Page 47

Default Icon
50 pages
Print Icon
To Next Page IconTo Next Page
To Next Page IconTo Next Page
To Previous Page IconTo Previous Page
To Previous Page IconTo Previous Page
Loading...
1B+ II Water Wizard Water Heaters HE-110
Installation, Operation & Maintenance Manual OMM-0063_0D
11/28/2018 Page 47 of 50
AERCO International, Inc. 100 Oritani Dr. Blauvelt, New York 10913
Phone: 800-526-0288
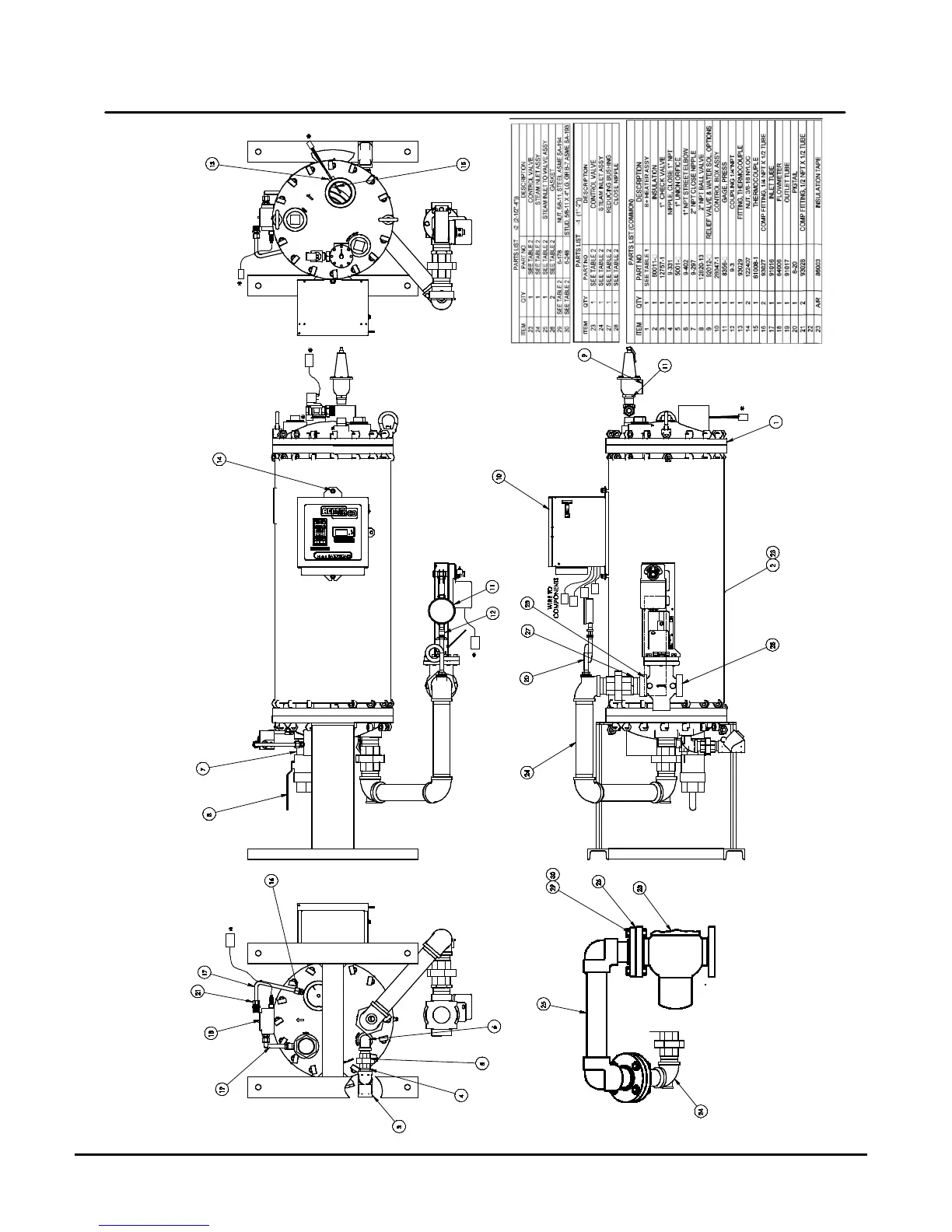
Figure 22AERCO Model SW1B+II Water Heater with ECS Assembly and Parts List

Table of Contents

Related product manuals