EasyManua.ls Logo

AGA marvel ML15CL - Page 53

Default Icon
96 pages
Print Icon
To Next Page IconTo Next Page
To Next Page IconTo Next Page
To Previous Page IconTo Previous Page
To Previous Page IconTo Previous Page
Loading...
21
4
7
8 po
(12,4 cm)
1
3
16 po
(3 cm)
3
1
8 po
(7,9 cm)
1
1
2 po
(3,8 cm)
typical
14
3
4 po
(37,5 cm)
1
4 po (6 mm)
Deep
5 po
(12,7 cm)
1
3
4 po
(4,4 cm)
2 po
(5,1 cm)
3
11
16 po
(9,4 cm)
1
11
16 po
(4,3 cm)
4
7
8 po
(12,4 cm)
1
3
16 po
(3 cm)
3
1
8 po
(7,9 cm)
1
1
2 po
(3,8 cm)
typical
1
11
16 po
(4,3 cm)
14
3
4 po
(37,5 cm)
1
4 po (6 mm)
Deep
5 po
(12,7 cm)
1
3
4 po
(4,4 cm)
2 po
(5,1 cm)
3
11
16 po
(9,4 cm)
1
5
32 po
(2,9 cm)
1
5
32 po
(2,9 cm)
30
11
32 po
(77,1 cm)
30
11
32 po
(77,1 cm)
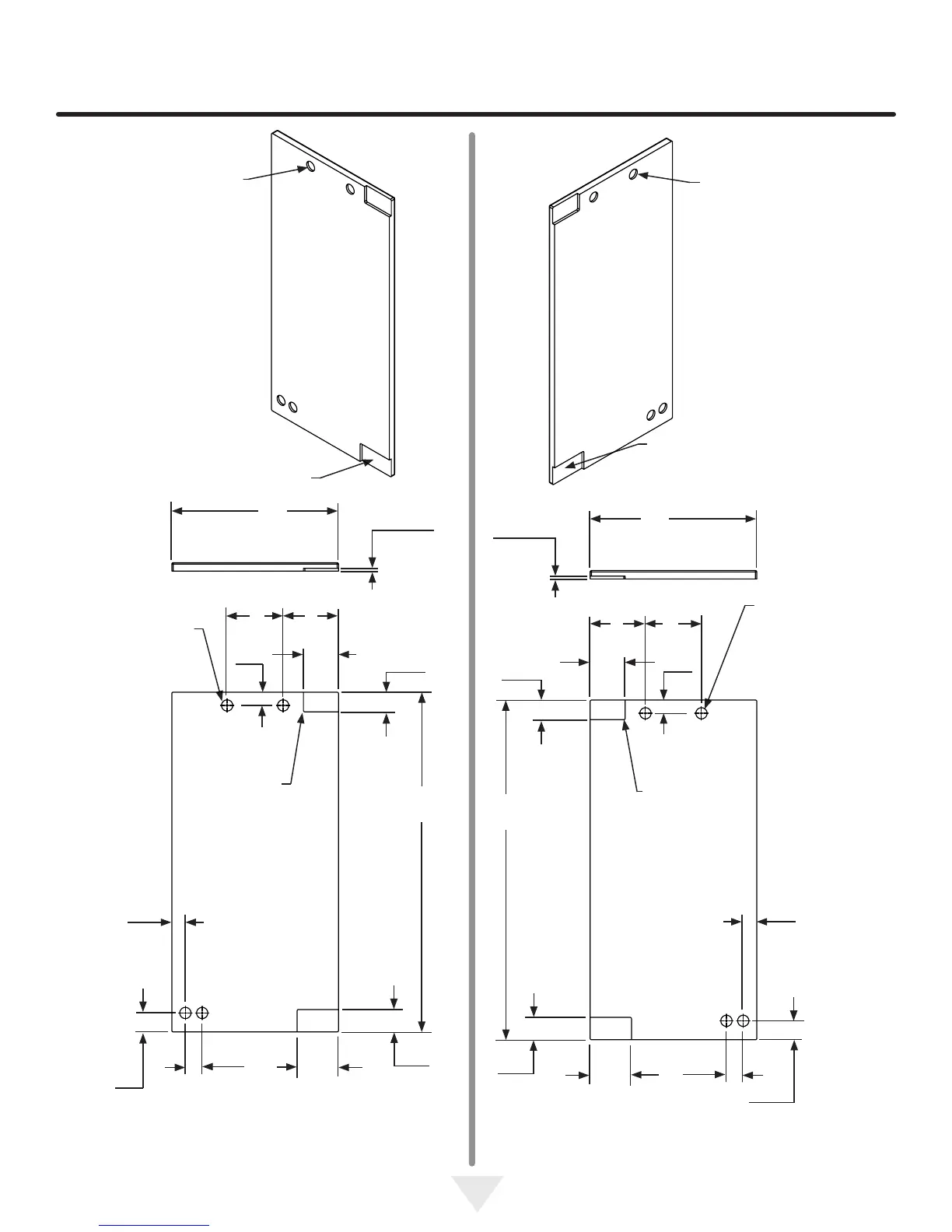
Dégagement pour tête
de vis, 4 emplacements
Dégagement pour tête
de vis, 4 emplacements
Haut de porte
Haut de porte
Côté charnières de la porte
Côté charnières de la porte
Dégagement pour
charnière, 2
emplacements
Dégagement pour
charnière, 2
emplacements
Figure 31
Porte à charnières à gauche
Appareil de largeur
15 po (38,1 cm)
1 po (25,4 mm) de diamètre,
contre-alésage de
1
4 po
(6 mm) de profondeur, 4
emplacements
Figure 33
Porte à charnières à droite
Appareil de largeur
15 po (38,1 cm)
1 po (25,4 mm) de diamètre,
contre-alésage de
1
4 po
(6 mm) de profondeur, 4
emplacements
Cette face
vers l'intérieur
Cette face
vers l'intérieur
Arrondi de
1
4 po (6 mm)
autorisé
Arrondi de
1
4 po (6 mm)
autorisé
INSTALLATION DE PANNEAU DE REVÊTEMENT DE PORTE
Figure 32
Porte à charnières à gauche
Appareil de largeur 15 po (38,1 cm)
Figure 34
Porte à charnières à droite
Appareil de largeur 15 po (38,1 cm)

Table of Contents