EasyManua.ls Logo

AGPtek M6 - Page 47

AGPtek M6
95 pages
Print Icon
To Next Page IconTo Next Page
To Next Page IconTo Next Page
To Previous Page IconTo Previous Page
To Previous Page IconTo Previous Page
Loading...
45
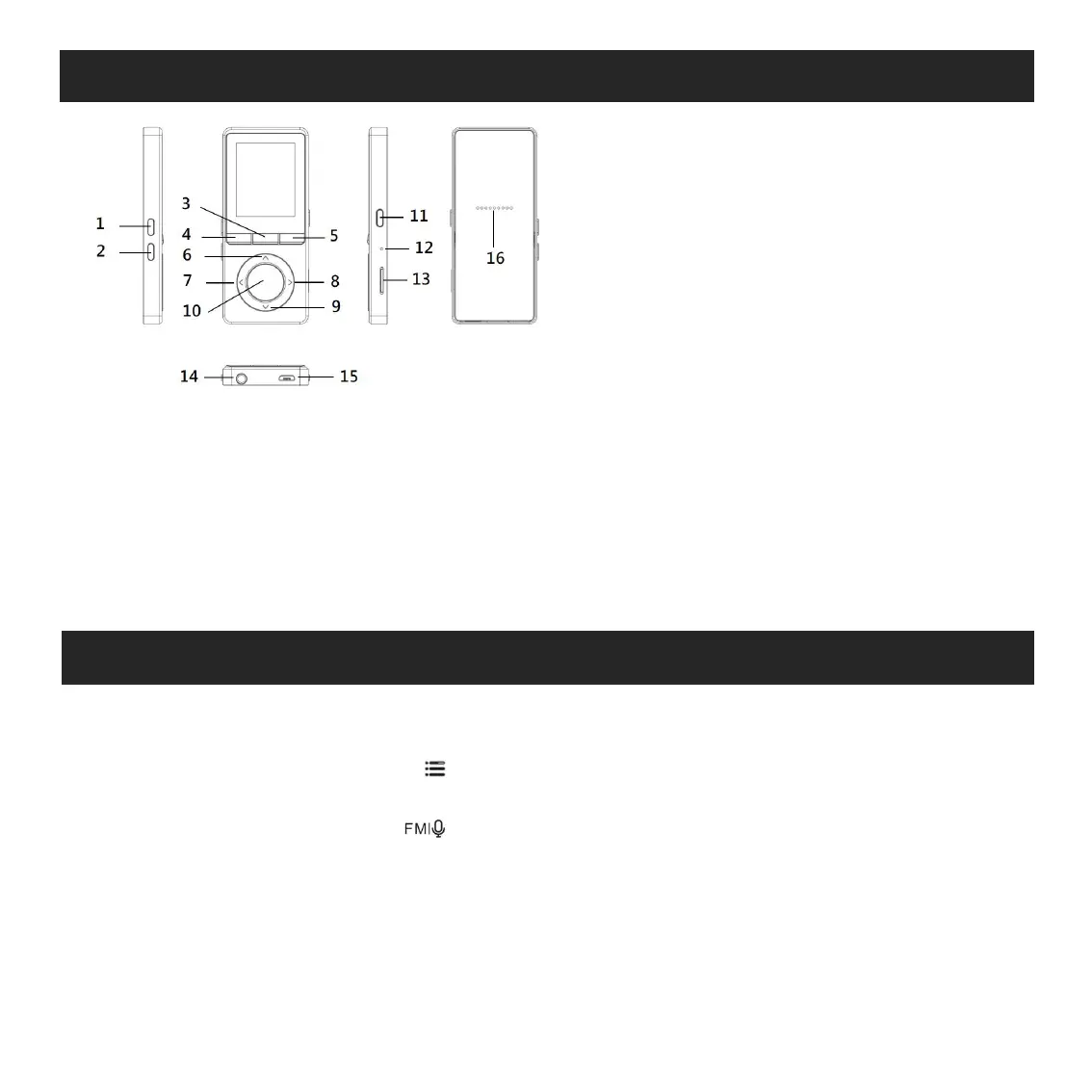
Pulsanti e Controllo
1. Accensione/spegnimento:
Premi a lungo il pulsante di accensione per 3 secondi per accendere/spegnere il lettore.
Premere brevemente il pulsante di accensione per accendere/spegnere il display.
Tenere premuto il tasto per bloccare/sbloccare lo schermo.
Premere brevemente il tasto per aprire la radio FM e premere a lungo per aprire le
registrazioni.
2. Menu principale:
Il menu principale è il punto di partenza di ogni applicazione. Ci sono 9 funzioni
principali nel menu principale: Musica/Radio FM/Cartella/Video/Registrazioni/Impostazioni/Im
magini/Ebook/Strumenti.
3. Scegli la funzione:
1. Volume +
2. Volume -
3. Radio FM/Registrazioni
4. Ritorno
5. Sottomenu/pulsante di blocco/sblocco
6. Su
7. Indietro/Indietro veloce
8. Successivo/Avanti veloce
9. Giù
10. Invio/riproduzione/pausa
11. Accensione/spegnimento;schermata di
blocco/sblocco
12. MIC/Ripristinare
13. Slot per scheda Micro SD
14. Spinotto per auricolari
15. Porta micro USB
16. Altoparlante incorporato

Related product manuals